Запчасти Case 584E (2-37C) - CRANKSHAFT, P.I.N. JJG0251722 AND AFTER, 4-390 EMISSIONS CERTIFIED ENGINE (02) - ENGINE

Схема запчастей Case 584E - (2-37C) - CRANKSHAFT, P.I.N. JJG0251722 AND AFTER, 4-390 EMISSIONS CERTIFIED ENGINE (02) - ENGINE
23
11
18
14
7
25
11
6
15
19
10
4
11
24
20
22
9
21
12
27
16
17
28
5
26
12
8
2
11
13
11
3
19
1
FIT
1:1
100%

Артикул

Название

Примечание

Количество

JR908031

CRANKCASE

CRANKSHAFT - engine, remanufactured, North America only, component parts shown on this figure do not apply to the remanufactured assembly, for service order J908031 crankshaft assembly, Ref. 1

1шт.

J929036R

REMAN-CRANKSHAFT

584E, 585E, 586E ALL EMISSIONS, P.I.N. JJG0251722 AND AFTER (5/90-), Reman for New P/N JR908031

1шт.

J929036C

CORE-CRANKSHAFT

Return Number

1шт.

JC908031

CORE-CRANKSHAFT

RETURN NUMBER - use this part number to return crankshaft for credit when using a remanufactured assembly

1шт.

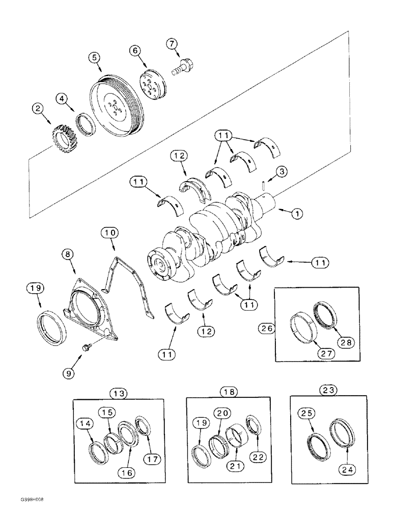
1

J908031

CRANKSHAFT

ASSEMBLY - engine, Includes: Ref. 2 and 3

1шт.

J929036R

REMAN-CRANKSHAFT

584E, 585E, 586E ALL EMISSIONS P.I.N. JJG0251722 AND AFTER (5/90-), Reman for New P/N J908031

1шт.

J929036C

CORE-CRANKSHAFT

Return Number

1шт.

2

J929027

PINION

GEAR - crankshaft

1шт.

3

J904483

PIN,6.01mm OD x 8mm L

- dowel

1шт.

4

NSS

NOT SOLD SEPARAT

SEAL - oil, crankshaft front, order Ref. 13, A77889 kit

1шт.

5

J914494

PULLEY,181.25mm OD

- crankshaft vibration damper

1шт.

6

J905820

ADAPTER

FLANGE - adapter, pulley

1шт.

7

J903857

BOLT,Hex, M12 x 1.25 x 36mm

- hex flange, special, 12 - 1.25 x 36 mm

4шт.

8

J921043

REAR COVER

RETAINER - seal, rear cover

1шт.

9

845-6015

BOLT,Hvy Hex, M6 x 15mm, Cl 8.8

6шт.

10

J928493

GASKET

- rear cover retainer

1шт.

11

J804940

BEARING SET

BEARING - main, upper and lower set, standard

4шт.

11

A77472

BEARING SET

BEARING - main, upper and lower set, 0.25 mm undersize

4шт.

11

A77474

BEARING SET

BEARING - main, upper and lower set, 0.50 mm undersize

4шт.

11

A77476

BEARING SET

BEARING - main, upper and lower set, 0.75 mm undersize

4шт.

11

A77478

BEARING SET

BEARING - main, upper and lower set, 1.00 mm undersize

4шт.

12

A77895

THRUST BEARING,KIT

BEARING - main thrust, upper and lower set, standard

1шт.

12

A77473

THRUST BEARING

BEARING - main thrust, upper and lower set, 0.25 mm undersize

1шт.

12

A77475

THRUST BEARING

BEARING - main thrust, upper and lower set, 0.50 mm undersize

1шт.

12

A77477

THRUST BEARING

BEARING - main thrust, upper and lower set, 0.75 mm undersize

1шт.

12

A77479

THRUST BEARING

BEARING - main thrust, upper and lower set, 1.00 mm undersize

1шт.

12

A77841

THRUST BEARING

BEARING - main thrust, upper and lower set, 0.50 mm undersize, 0.50 mm oversize thrust

1шт.

12

A77840

THRUST BEARING

BEARING - main thrust, upper and lower set, 1.00 mm undersize, 1.00 mm oversize thrust

1шт.

13

A77889

SEAL PACKAGE

KIT - oil seal, crankshaft front, Includes: Ref. 14 - 17

1шт.

14

NSS

NOT SOLD SEPARAT

SEAL - oil, front

1шт.

15

NSS

NOT SOLD SEPARAT

TOOL - installation

1шт.

16

NSS

NOT SOLD SEPARAT

TOOL - installation

1шт.

17

NSS

NOT SOLD SEPARAT

SHIELD - dust

1шт.

18

A77890

SEAL PACKAGE

KIT - oil seal, crankshaft front, includes wear sleeve, Includes: Ref. 19 - 22

1шт.

19

NSS

NOT SOLD SEPARAT

SEAL - oil, front

1шт.

20

NSS

NOT SOLD SEPARAT

SLEEVE - wear, not shown

1шт.

21

NSS

NOT SOLD SEPARAT

TOOL - installation

1шт.

22

NSS

NOT SOLD SEPARAT

SHIELD - dust

1шт.

23

A77809

GASKET KIT

KIT - oil seal, crankshaft rear, Includes: Ref. 24 and 25

1шт.

24

NSS

NOT SOLD SEPARAT

SLEEVE

1шт.

25

NSS

NOT SOLD SEPARAT

SEAL - oil, rear

1шт.

26

A77810

SERVICE KIT

KIT - oil seal, crankshaft rear, includes wear sleeve, Includes: Ref. 27 and 28

1шт.

27

NSS

NOT SOLD SEPARAT

SLEEVE - wear

1шт.

28

NSS

NOT SOLD SEPARAT

SEAL - oil, rear

1шт.

Выбрано товаров: 44