Запчасти Case 585G (08-12) - HYDRAULICS - LOAD CONTROL (08) - HYDRAULICS

Схема запчастей Case 585G - (08-12) - HYDRAULICS - LOAD CONTROL (08) - HYDRAULICS
4
7
3
8
2a
1
6
9
10
5
2
10
FIT
1:1
100%

Артикул

Название

Примечание

Количество

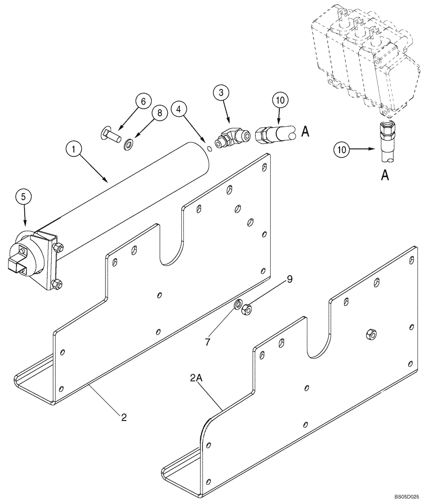
1

356131A1

ACCUMULATOR

See Figure 08-13; Service For 448285A1 Used In Production

1шт.

2

278169A1

PLATE

If Used

1шт.

2a

86993690

MOUNTING PLATE

If Used

1шт.

3

218-5600

ELBOW,90 Degree, 7/8"-14, 37 Degree x 3/4"-16, O-Ring

7/8 fl x 3/4 Or, Incl. 4

1шт.

4

237-6008

O-RING,0.087" Thk x 0.644" ID, -908, Cl 6, 90 Duro

1шт.

5

A13240

CLAMP,2-5/8" ID

2шт.

6

711-10040

CARRIAGE BOLT,Short NK, M10 x 40, Cl8.8, Full Thd

2шт.

7

892-11010

LOCK WASHER,M10

2шт.

8

895-15010

WASHER,11mm ID x 24mm OD x 2mm Thk

2шт.

9

829-1410

NUT,M10 x 1.5, Cl 10.9

2шт.

10

358187A1

AIR HOSE,12.70 mm ID x 1675.00 mm

See 87333934 Kit, Figure 08-03

1шт.

330083A1

SPACER,11mm ID x 40mm OD x 10mm Thk

11 x 40 x 10 mm thk

2шт.

Выбрано товаров: 12