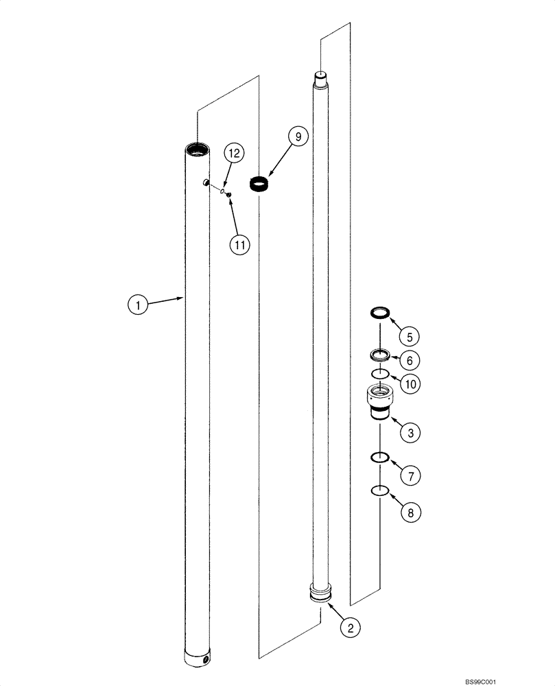
Запчасти Case 586G (08-09) - CYLINDER ASSY (360792A1) - MAST LIFT, 6000 LB FREELIFT (08) - HYDRAULICS

Схема запчастей Case 586G - (08-09) - CYLINDER ASSY (360792A1) - MAST LIFT, 6000 LB FREELIFT (08) - HYDRAULICS
1
2
5
11
12
7
8
6
3
9
10
FIT
1:1
100%

Артикул

Название

Примечание

Количество

6000 lb FREELIFT

1шт.

360792A1

CYLINDER ASSY.

Rail, Mast Lift, Freelift, Incl. 1 - 12, See Figure 09-05, 09-06

2шт.

1

360790A1

TUBE

1шт.

2

360791A1

ROD ASSY.

Incl. Piston

1шт.

3

337737A1

NUT

1шт.

337742A1

KIT

Seal, Incl. 5 - 10

1шт.

5

337744A1

WIPER

1шт.

6

337746A1

CUP

1шт.

7

337747A1

O-RING

1шт.

8

337748A1

BACK-UP RING

1шт.

9

337749A1

RING

1шт.

10

360611A1

SEAL

Buffer Seal

1шт.

11

278548

PLUG,Hex, 7/16"-20 ORB

Incl 12

1шт.

12

237-6004

O-RING,0.072" Thk x 0.351" ID, -904, Cl 6, 90 Duro

1шт.

Выбрано товаров: 14