Запчасти Case 586G (08-01) - HYDRAULICS - RETURN LINES (08) - HYDRAULICS

Схема запчастей Case 586G - (08-01) - HYDRAULICS - RETURN LINES (08) - HYDRAULICS
6
9
3
17
12
11
10
17
13
16
23
1
19
4
18
2
8
5
7a
12
20
14
18
7
15
22
FIT
1:1
100%

Артикул

Название

Примечание

Количество

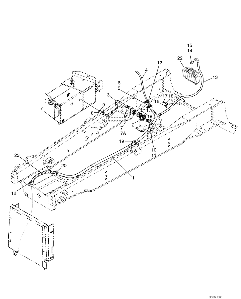
1

87741913

HOSE,15.88mm ID x 1430mm L, SAE 100R16

Filter to Cooler

1шт.

2

122536A1

HYDRAULIC OIL FILTER

Hydraulic, See Figure 08-14; Replaces 87440045 Used In This Application

1шт.

3

87708243

TUBE,25.4 mm OD x 363.5 mm L

Return, Filter to Tank

1шт.

4

131676A1

HOSE,7.94mm ID x 1590mm L

1590 mm (62-5/8 in), Filter to Brake Reservoir

1шт.

5

301104A1

FITTING,5/8" OD x 7/8" - 14 ORFS x 9/16" - 18 JIC

Special Tee W/Hose Barb, Incl. 6

1шт.

6

237-6010

O-RING,0.097" Thk x 0.755" ID, -910, Cl 6, 90 Duro

1шт.

7

329698A1

TEE

1-5/8 fl br x fl x Or, Incl. 7A

1шт.

7a

237-6020

O-RING,0.118" Thk x 1.475" ID, -920, Cl 6, 90 Duro

1шт.

8

D38435

HOSE,1" ID x 1 1/2" OD 3.5" L

89 mm (3-5/8 in)

1шт.

9

214-1420

HOSE CLAMP,#20, 0.81" - 1.75", Type F Worm

2шт.

10

218-5110

ELBOW,90 Degree Elbow, 1-5/16" - 12 Male JIC x 1-5/16" - 12 Male ORB

Incl. 11

1шт.

11

237-6016

O-RING,0.116" Thk x 1.171" ID, -916, Cl 6, 90 Duro

1шт.

12

328186A1

HOSE CLAMP,400mm L

2шт.

13

347910A1

HOSE,19.05mm ID x 1700mm L

1700 mm (66-15/16 in), Return, Control Valve Filter

1шт.

14

218-5064

HYD CONNECTOR,1-1/16" - 12 Male JIC x 1-1/16" - 12 Male ORB

Incl. 15

1шт.

15

237-6012

O-RING,0.116" Thk x 0.924" ID, -912, Cl 6, 90 Duro

1шт.

16

D34033

CLAMP

1-3/16 ID

1шт.

17

614-10020

BOLT,Hex, M10 x 1.5 x 20mm, Cl 8.8, Full Thd

5шт.

18

895-11010

WASHER,11mm ID x 20mm OD x 2mm Thk

5шт.

19

L11541

CABLE TIE,203.2mm L, Nylon

CABLE STRAP

1шт.

20

D39696

CLAMP,25.40mm - 13.49mm Bolt, CTD

1шт.

21

356883A1

VALVE, CONTROL

Three Spool, Forklift Control, See Figure 08-15; Not Illustrated

1шт.

22

356884A1

VALVE, CONTROL

Four Spool, Forklift Control, See Figure 08-16

1шт.

23

D132982

PADDLE,26.87mm ID x 400mm L

Hose Guard

1шт.

Выбрано товаров: 24