Качественные детали и логистика
Оригинальные и аналоговые запчасти с доставкой по России, Казахстану и Беларуси
©2022 PartSell ООО "Система" ИНН 2463123282 ОГРН 1212400004838
Центральный офис: г. Красноярск, Академика Киренского, д.87, пом.4
Телефон: 8 (800) 777-65-74 Email: zakaz@partsell.ru
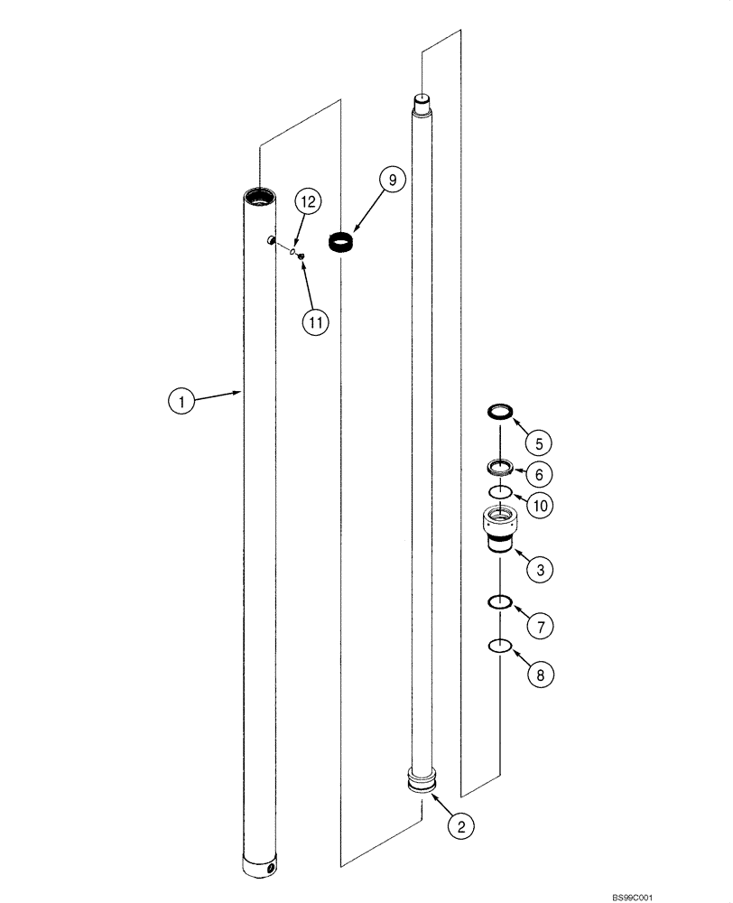
(08-07C) - CYLINDER ASSY (337689A1) - MAST LIFT
№
Артикул
Название
Примечание
Количество
337689A1
CYLINDER ASSY.
Rail, Mast Lift, Incl. 1 - 12, Figure 09-14, 09-16
2шт.
1
337690A1
TUBE
3-1/4 ID x 3-3/4 OD
1шт.
2
337691A1
PISTON ROD
Incl. Piston
3
337692A1
NUT
337716A1
KIT
Seal, Incl. 5 - 10
5
337727A1
WIPER
6
363140A1
CUP
7
337728A1
O-RING
8
337730A1
BACK-UP RING
9
337725A1
RING
10
363141A1
SEAL
Buffer Seal
11
278548
PLUG,Hex, 7/16"-20 ORB
Incl 12
12
237-6004
O-RING,0.072" Thk x 0.351" ID, -904, Cl 6, 90 Duro
Выбрано товаров: 0