Запчасти Case 586G (08-08) - CYLINDER ASSY (348743A1) - MAST LIFT (08) - HYDRAULICS

Схема запчастей Case 586G - (08-08) - CYLINDER ASSY (348743A1) - MAST LIFT (08) - HYDRAULICS
6
11
2
9
4
5
7
8
1
12
3
FIT
1:1
100%

Артикул

Название

Примечание

Количество

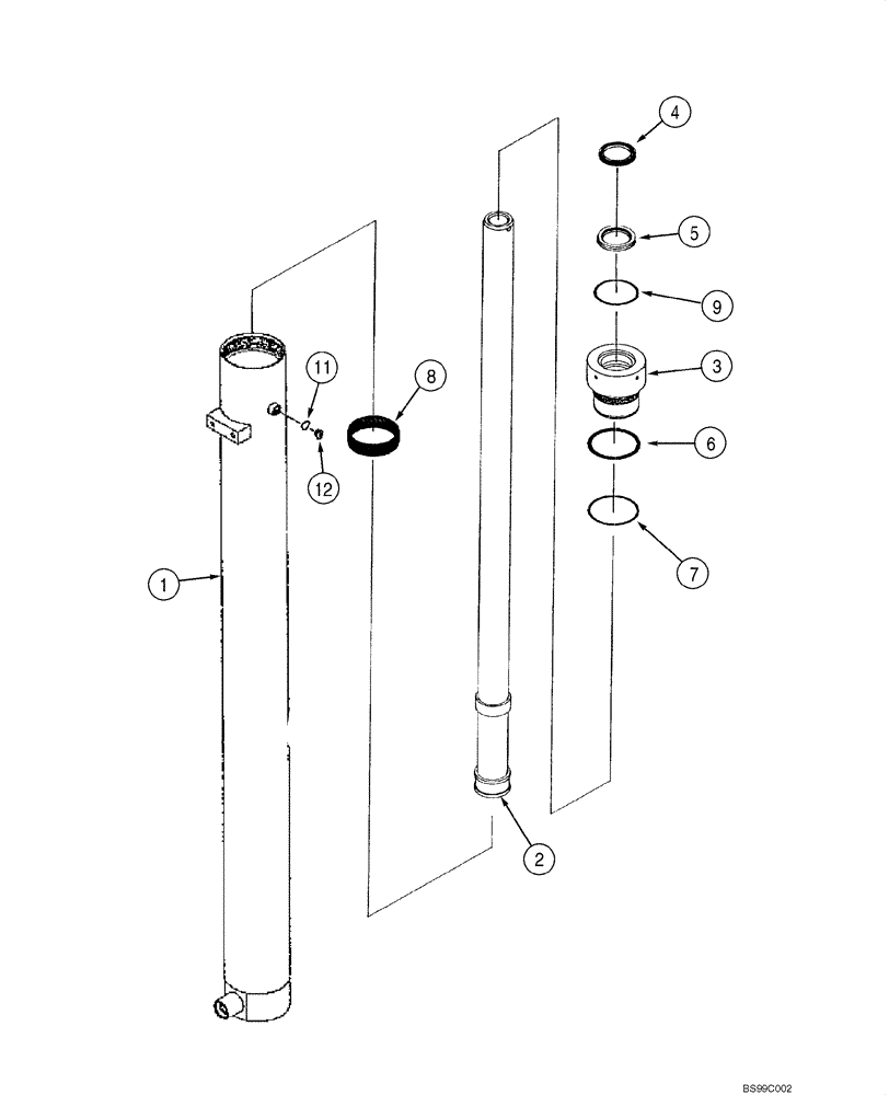
348743A1

CYLINDER ASSY.

Mast Lift, Freelift, Incl. 1 - 11, See Figure 09-03, 09-04

1шт.

1

348744A1

TUBE

Used On Models With Mast Serial Number(s) 6ULVR-2673-1098, 6ULVR-2815-1098, 702825-4432-999, If Used

1шт.

1

384717A1

TUBE,3.5 mm ID, 4 mm OD, 58 mm Length

If Used

1шт.

2

348745A1

PISTON ROD

Incl. Piston

1шт.

3

348746A1

NUT

Used On Models With Mast Serial Number(s) 6ULVR-2673-1098, 6ULVR-2815-1098, 702825-4432-999, If Used

1шт.

3

384720A1

NUT

If Used

1шт.

348747A1

KIT

Seal, Incl. 5 - 9

1шт.

4

348748A1

WIPER,74.8mm ID x 95.4mm OD

1шт.

5

348749A1

CUP

1шт.

6

348750A1

RING

1шт.

7

348751A1

O-RING

1шт.

8

348752A1

RING

1шт.

9

360616A1

SEAL

Buffer Seal

1шт.

10

278548

PLUG,Hex, 7/16"-20 ORB

Incl 11

1шт.

11

237-6004

O-RING,0.072" Thk x 0.351" ID, -904, Cl 6, 90 Duro

1шт.

Выбрано товаров: 15