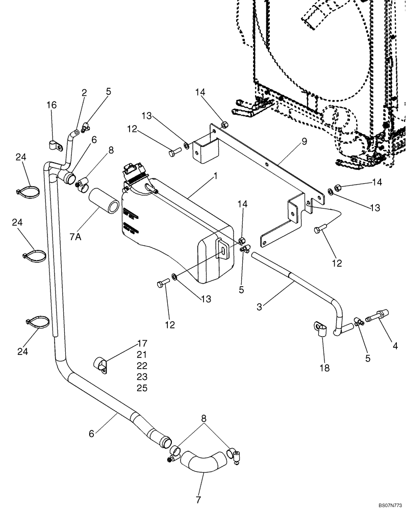
Запчасти Case 586G (02-02) - DEAERATION SYSTEM - MOUNTING (02) - ENGINE

Схема запчастей Case 586G - (02-02) - DEAERATION SYSTEM - MOUNTING (02) - ENGINE
2
17
24
12
14
5
8
4
7a
24
13
14
9
8
12
5
13
21
22
18
5
6
6
3
14
12
16
24
7
13
23
1
25
FIT
1:1
100%

Артикул

Название

Примечание

Количество

1

87674844

RESERVOIR, COOLANT E,3L

Deaeration Reservoir, 3.0 Liters; Includes 85803019 Cap

1шт.

85803019

RADIATOR CAP

13 psi

1шт.

2

87616934

HOSE,6.35mm ID x 750mm L, SAE 30R6

Overflow

1шт.

3

87715487

RADIATOR HOSE,7.90 mm ID x 440.00 mm, SAE J30, SAE 30R6 Or SAE 20 R4 Class D1

Recovery, Reservoir to Radiator

1шт.

4

87301325

FITTING,5/16" Hose X 1/4" NPTF Beaded

1шт.

5

214-1704

HOSE CLAMP,#04, 0.25" - 0.62", Type M Worm

1-3шт.

6

87557237

TUBE,1" OD

1шт.

7

87454376

HOSE,25mm ID, 29.95mm OD, 90 Degree

1шт.

7a

87367622

HOSE,25.40 mm ID x 60.00 mm, SAE 20R3 CLASS D-1 Or D-2

1шт.

8

214-1416

HOSE CLAMP,#16, 0.81" - 1.5", Type F Worm

4шт.

9

87632870

BRACKET

Bottle Retaining

1шт.

12

614-8025

BOLT,Hex, M8 x 1.25 x 25mm, Cl 8.8, Full Thd

7шт.

13

895-11008

WASHER,9mm ID x 16mm OD x 1.6mm Thk

7шт.

14

832-10408

NUT,M8 x 1.25, Cl 8.8

7шт.

16

515-23143

CLAMP,9/16", Insul, 3/8" Bolt

1шт.

17

515-22254

CLAMP,1", Insul, 5/16" Bolt

1шт.

18

515-23143

CLAMP,9/16", Insul, 3/8" Bolt

1шт.

21

614-8040

BOLT,Hex, M8 x 1.25 x 40mm, Cl 8.8, Full Thd

1шт.

22

87418360

SPACER,9.8mm ID x 16mm OD x 16mm W

8 x 16 mm

1шт.

23

895-11008

WASHER,9mm ID x 16mm OD x 1.6mm Thk

1шт.

24

L11541

CABLE TIE,203.2mm L, Nylon

CABLE STRAP

3шт.

25

832-10408

NUT,M8 x 1.25, Cl 8.8

1шт.

Выбрано товаров: 22