Запчасти Case 586G (09-15) - MAST, HOOK AND SHAFT FRAME - 8000 LB (09) - CHASSIS

Схема запчастей Case 586G - (09-15) - MAST, HOOK AND SHAFT FRAME - 8000 LB (09) - CHASSIS
11
16
10
14
15
6
9
7
10
5
2
15
4
8
3
2
6
13
4
12
13
5
3
14
12
16
1
FIT
1:1
100%

Артикул

Название

Примечание

Количество

.

356492A2

KIT

KIT, MAST ASSY 8K 22' 60" HOOK MAST, Incl 324497A3

1шт.

.

324497A3

MAST ASSEMBLY

6,6 M (22 ft), Hook, Incl. 1 - 6, Also Incl. Parts On 09-14

1шт.

.

356493A2

KIT

KIT, MAST ASSY 8K 22' 60" SHAFT MAST, Incl 329468A3

1шт.

.

329468A3

MAST ASSEMBLY

6,6 M (22 ft), Shaft, Incl. 7 - 16, Also Incl. Parts On 09-14

1шт.

.

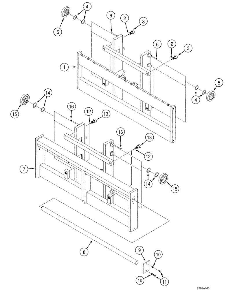
1524 mm (60 in) HOOK FRAME

1шт.

.

337655A1

CARRIER

Hook, Incl. 1 - 6

1шт.

1

337603A1

SUPPORT

1524 mm (60 in), Hook

1шт.

2

219-17

LUBE NIPPLE,3/16" NPTF

4шт.

3

337605A1

ROLLER,44.45mm OD

Thrust

4шт.

4

337606A1

SHIM

0,76 mm (0,03 in)

1шт.

5

337607A1

ROLLER

Load

6шт.

6

61-4256

HEX SOC SCREW,Flat Hd, 1/4"-20 x 3/8"

2шт.

.

1524 mm (60in) SHAFT FRAME

1шт.

.

337657A1

CARRIER

Shaft, Incl. 7 - 16

1шт.

7

337649A1

SUPPORT ASSY.

1524 mm (60 in), Shaft

1шт.

8

339882A1

SHAFT

1шт.

9

337651A1

CAP

Shaft

2шт.

10

492-11062

BEARING WASHER,5/8"

4шт.

11

413-1024

BOLT,Hex, 5/8" - 11 x 1-1/2", Gr 5

4шт.

12

219-17

LUBE NIPPLE,3/16" NPTF

4шт.

13

337605A1

ROLLER,44.45mm OD

Thrust

4шт.

14

337606A1

SHIM

0,76 mm (0,03 in)

1шт.

15

337607A1

ROLLER

Load

6шт.

16

61-4256

HEX SOC SCREW,Flat Hd, 1/4"-20 x 3/8"

2шт.

Выбрано товаров: 24