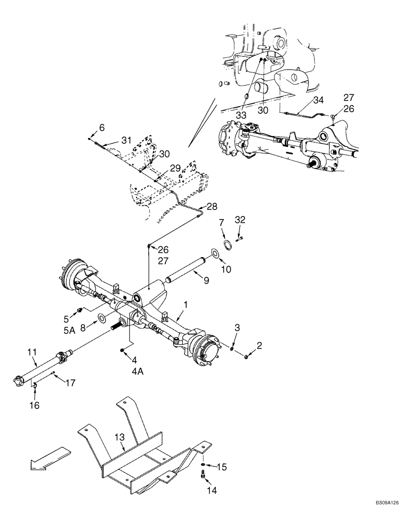
Запчасти Case 586G (06-01) - AXLE, REAR DRIVE (4WD) - MOUNTING (06) - POWER TRAIN

Схема запчастей Case 586G - (06-01) - AXLE, REAR DRIVE (4WD) - MOUNTING (06) - POWER TRAIN
6
27
30
15
3
26
27
29
30
28
4
9
32
11
17
34
26
13
16
31
5a
33
2
14
8
4a
1
5
10
7
FIT
1:1
100%

Артикул

Название

Примечание

Количество

1

87395365

4WD AXLE ASSY

See Figure 06-02 - 06-08; If Used

1шт.

1

87395365R

REMAN-AXLE DIFFERENT

1шт.

1

87395365C

CORE-AXLE, MFD

Return Number

1шт.

2

100092

WHEEL NUT,M18 x 1.5, Cl 8

16шт.

3

496-81000

WASHER,25/32" x 1 3/8" x .134", HDN

16шт.

4

218-5351

HYD CONNECTOR,3/4"-16, 37 Degree x 9/16"-18, O-Ring

Incl. 4A

1шт.

4a

237-6006

O-RING,0.078" Thk x 0.468" ID, -906, Cl 6, 90 Duro

1шт.

5

218-5529

ELBOW,45 Degree, 9/16" - 18 ORB x 3/4" - 16 JIC

Incl. 5A

1шт.

5a

237-6006

O-RING,0.078" Thk x 0.468" ID, -906, Cl 6, 90 Duro

1шт.

6

219-1

LUBE NIPPLE,1/8" - 27 NPTF

Used With Ref 28 and 31; If Used

1шт.

7

800-44050

SNAP RING,M50, Ext

2шт.

8

191796A1

WASHER,51.6mm ID x 92mm OD x 1.98mm Thk

2 x 4 x 1/16

1шт.

9

391451A1

PIVOT PIN,50mm OD x 431.5mm L

1шт.

10

D123684

WASHER,52.3mm ID x 114mm OD x 4.78mm Thk

2-1/2 x 4-1/2 x 3/16

1шт.

87437988

DRIVE SHAFT

May Receive Either Dana or Neapco Brand Drive Shaft

1шт.

11

367861A2

DRIVE SHAFT

See Figure 06-09; Dana Brand; No Longer Available, Order 87405326 Driveshaft

1шт.

11

87405326

DRIVE SHAFT

Neapco Brand; Component Parts Not Available

1шт.

13

137223A2

GUARD

Drive Shaft

1шт.

14

827-12045

BOLT,Hex, M12 x 1.75 x 45mm, Cl 10.9, Full Thd

4шт.

15

495-81025

WASHER,13.49mm ID x 31.75mm OD x 4.93mm Thk

4шт.

16

87538515

KIT

2шт.

17

9637611

SCREW,Hex Flng, 5/16" - 24 x 3/4"

Hex Flange Head, Special, 5/16 - 24 UNF x 1-1/16

4шт.

26

218-5103

90 ELBOW,90 Degree Elbow, 7/16" - 20 Male JIC x 7/16" - 20 Male ORB

Incl. 27

1шт.

27

237-6004

O-RING,0.072" Thk x 0.351" ID, -904, Cl 6, 90 Duro

1шт.

28

381386A1

HOSE ASSY.,1/8" ID x 500mm L, ES-B120 Class 16

500 mm (19-11/16 in), Lubrication Line; Used With Ref 31 Only; If Used

1шт.

29

218-1275

NUT,Blkhd, 7/16"-20

Used With Ref 28 Only

1шт.

30

495-11047

WASHER,7/16", SAE

1шт.

31

381442A1

CONNECTION

Lubrication Line; Used With Ref 28 Only; If Used

1шт.

32

300388

BOLT,Hex, M12 x 1.75 x 25mm, Cl 8.8

1шт.

33

F53473

LOCK NUT,1/8-27 NPSM

Used With Ref 34 Only

1шт.

34

87572760

HOSE ASSY.,6.4mm ID x 533mm L

533 mm (21 in), Lubrication Line

1шт.

Выбрано товаров: 31