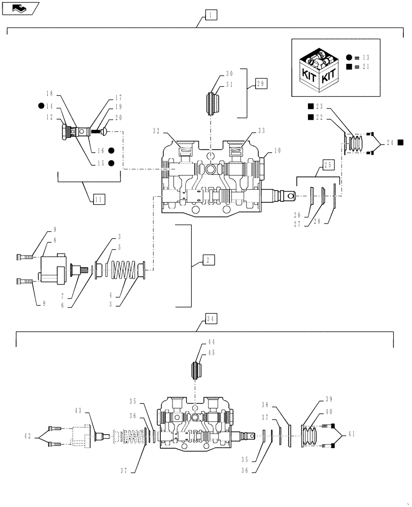
Запчасти Case 588H (35.355.06) - VALVE SECTION TILTABLE FORK (35) - HYDRAULIC SYSTEMS

Схема запчастей Case 588H - (35.355.06) - VALVE SECTION TILTABLE FORK (35) - HYDRAULIC SYSTEMS
home
13
19
12
35
21
37
37
14
21
28
36
27
40
15
41
26
5
1
22
30
13
31
24
42
34
21
23
16
9
43
21
9
8
2
11
29
17
32
33
13
45
35
44
4
18
10
25
3
20
13
38
3
39
6
7
13
21
36
FIT
1:1
100%

Артикул

Название

Примечание

Количество

1

358661A1

HYD VALVE SECTION

Tilt, Incl 2 - 45

1шт.

2

360595A1

SPOOL

Spool Positioner, Incl 3 - 9

1шт.

3

H267591

SPRING SEAT

Collar

2шт.

4

D87306

SPRING

Compression

1шт.

5

NSS

NOT SOLD SEPARAT

Spacer Incl in 2

1шт.

6

237-6004

O-RING,0.072" Thk x 0.351" ID, -904, Cl 6, 90 Duro

1шт.

7

NSS

NOT SOLD SEPARAT

Bolt, Special Incl in 2

1шт.

8

NSS

NOT SOLD SEPARAT

Cap Incl in 2

1шт.

9

NSS

NOT SOLD SEPARAT

Screw Incl in 2

2шт.

10

L100937

PLUG

Load Check

1шт.

11

360583A1

PLUG

Anticavitation, Check, Incl 12 - 20

1шт.

12

NSS

NOT SOLD SEPARAT

Plug Incl in 11

1шт.

13

361691A1

SEAL KIT

Seal, Incl 14 - 16

1шт.

14

237-6010

O-RING,0.097" Thk x 0.755" ID, -910, Cl 6, 90 Duro

1шт.

15

238-6016

O-RING,0.07" Thk x 0.614" ID, -16, Cl 6, 90 Duro

1шт.

16

238-5015

O-RING,0.07" Thk x 0.551" ID, -15, Cl 5, 75 Duro

1шт.

17

D88725

BACK-UP RING

Check Plug

2шт.

18

D88725

BACK-UP RING

Check Plug

1шт.

19

H268730

SPRING

.270 OD

1шт.

20

D28576

VALVE POPPET

Relief Check

1шт.

21

348741A1

KIT

Boot, Incl 22 - 24

2шт.

22

NSS

NOT SOLD SEPARAT

Retainer Incl in 21

1шт.

23

NSS

NOT SOLD SEPARAT

Boot Incl in 21

1шт.

24

61-3258

HEX SOC SCREW,1/4"-20 x 1/2"

2шт.

25

348738A1

SPOOL

Lip Seal, Spool, Incl 26 - 28

2шт.

26

NSS

NOT SOLD SEPARAT

Seal, Lip Seal Incl in 25

2шт.

27

NSS

NOT SOLD SEPARAT

Wiper Incl in 25

2шт.

28

NSS

NOT SOLD SEPARAT

Retainer, Seal Incl in 25

2шт.

29

362640A1

SLEEVE ASSY

Tilt Lock, Incl 30 , 31

1шт.

30

360585A1

O-RING,0.864mm ID x 0.07mm Width

1шт.

31

237-5008

O-RING,0.176" ID x 0.316" OD x 0.07"

1шт.

32

360589A1

RESTRICTOR

Spring

1шт.

33

360590A1

RESTRICTOR

Spring

1шт.

34

381064A1

SEAL PACKAGE

O-Ring, Spool, Retrofit, Incl 35 - 45

1шт.

35

D88728

O-RING,19.05mm ID x 25.4mm OD x 3.18mm Thk

Seal

2шт.

36

D88729

WASHER,0.76" ID x 1" OD x 0.05" Thk

Seal

2шт.

37

D88730

WASHER,0.77" ID x 1.43" OD

Seal

2шт.

38

N8194

LARGE PLATE

Retainer

1шт.

39

357163A1

RETAINER

Boot

1шт.

40

357164A1

BOOT

Retainer

1шт.

41

61-3258

HEX SOC SCREW,1/4"-20 x 1/2"

2шт.

42

102201A1

HEX SOC SCREW,1/4" - 20 x 7/8", W/ Nylon Patch

2шт.

43

237-6004

O-RING,0.072" Thk x 0.351" ID, -904, Cl 6, 90 Duro

1шт.

44

360585A1

O-RING,0.864mm ID x 0.07mm Width

1шт.

45

237-5008

O-RING,0.176" ID x 0.316" OD x 0.07"

1шт.

Выбрано товаров: 45