Запчасти Case 588H (89.100.AA[02]) - MAST CARRIAGE ASSY, SHAFT, 60 IN, 11 FT (89) - TOOLS

Схема запчастей Case 588H - (89.100.AA[02]) - MAST CARRIAGE ASSY, SHAFT, 60 IN, 11 FT (89) - TOOLS
13
2
5
8
7
2
5
1
3
12
10
6
9
3
9
4
4
6
8
11
7
FIT
1:1
100%

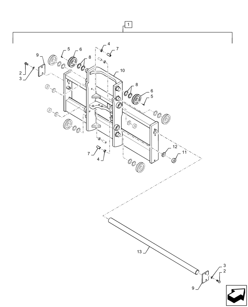
Артикул

Название

Примечание

Количество

1

47577801

SUPPORT

Shaft, Complete, Incl 2 - 13

1шт.

2

413-1024

BOLT,Hex, 5/8" - 11 x 1-1/2", Gr 5

4шт.

3

492-11062

BEARING WASHER,5/8"

4шт.

4

84354539

JAM NUT

4шт.

5

61-4256

HEX SOC SCREW,Flat Hd, 1/4"-20 x 3/8"

2шт.

6

337607A1

ROLLER

Load

6шт.

7

47778553

PLUG

4шт.

8

337606A1

SHIM

1шт.

9

337651A1

CAP

Shaft

2шт.

10

47778254

CARRIER

1шт.

11

84354538

PAD

Thrust

4шт.

12

84354537

PAD

Backer

4шт.

13

339882A1

SHAFT

Fork, 60" Wide

1шт.

Выбрано товаров: 13