Запчасти Case 33 (330) - D45895 DIPPER EXTENSION CYL,3-1/2"DIA. CYL W/25-1/2"STROKE W/SPLIT TYPE INNER&OUTER WIPER USED W/2

Схема запчастей Case 33 - (330) - D45895 DIPPER EXTENSION CYL,3-1/2"DIA. CYL W/25-1/2"STROKE W/SPLIT TYPE INNER&OUTER WIPER USED W/2
FIT
1:1
100%

Артикул

Название

Примечание

Количество

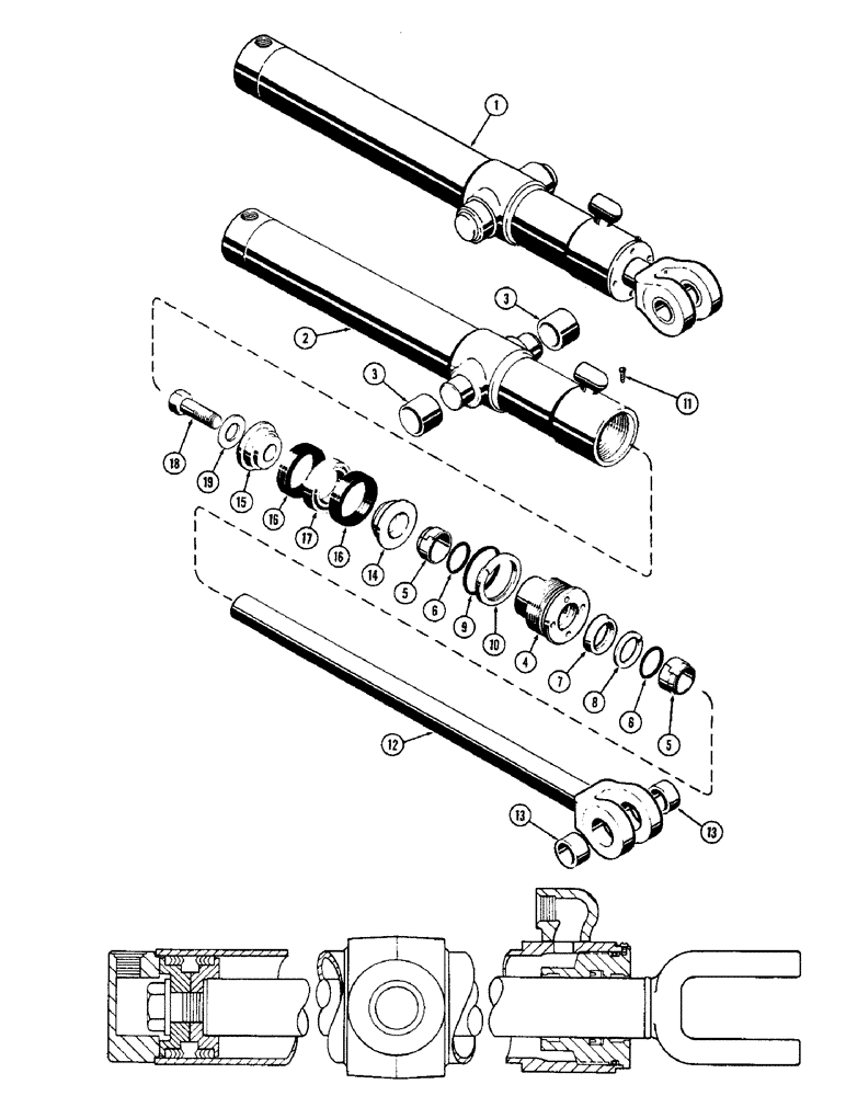
1

D45895

CYLINDER ASSY.

Includes: Ref. 2 - 19

1шт.

2

D45900

TUBE ASSY. - cylinder body, Includes: Ref. 3

1шт.

3

D31140

BUSHING,38.33mm ID x 47.63mm OD x 25.4mm L

- tube

2шт.

4

D45069

GLAND

- (Order 1-G32743 gland) (See Figure 332)

1шт.

D42873

GASKET KIT

PACKING KIT - gland (Replaces D37356 & D42873), Includes: Ref. 5 - 11

1шт.

5

D27432

SHIM

- piston rod, inner & outer (Split type)

2шт.

6

A14515

O-RING,0.139" Thk x 1.859" ID, -225, Cl 5, 75 Duro

"O" RING - wiper (1-7/8 x 2-1/8 x 1/8")

2шт.

7

D36970

CUP

SEAL - piston rod (1-3/4 x 2-1/4 x 7/16")

1шт.

8

D28499

RING

- rod seal back-up

1шт.

9

G15457

O-RING,0.139" Thk x 3.484" ID, -238, Cl 5, 75 Duro

"O" RING - gland (3-1/2 x 3-3/4 x 1/8")

1шт.

10

D27434

BACK-UP RING,88.9mm ID x 95.25mm OD x 2.21mm Thk

- gland "O" ring back-up

1шт.

11

187-1031

SELF-TAP SCREW,Pan, 0.164"-32 x 1/4"

SCREW - gland lock (#8-32 x 1/4" self tapping)

1шт.

12

D45896

ROD ASSY. - piston (1-3/4" dia.), Includes: Ref. 13

1шт.

13

D33047

BUSHING,44.68mm ID x 53.98mm OD x 22.23mm L

- piston rod

2шт.

14

D28369

PISTON

- split (Rod end)

1шт.

15

D28367

PISTON

- split (Bolt end)

1шт.

16

D47203

PACKING,76.07mm ID x 88.77mm OD x 29.18mm Thk

ASSY. - ("V" type) (Replaces D42808)

2шт.

17

D47208

RING

- center bearing (Replaces D43545)

1шт.

18

D32861

BOLT

- piston (1 x 2-1/2" N.F. hex.)

1шт.

19

D36505

WASHER,26.99mm ID x 47.63mm OD x 2.38mm Thk

- piston bolt (1-1/16 x 1-7/8 x 9/64")

1шт.

Выбрано товаров: 0