Запчасти Case 33 (062) - BACKHOE MOUNTING PARTS, LOADER SN. 4200725 AND AFTER

Схема запчастей Case 33 - (062) - BACKHOE MOUNTING PARTS, LOADER SN. 4200725 AND AFTER
FIT
1:1
100%

Артикул

Название

Примечание

Количество

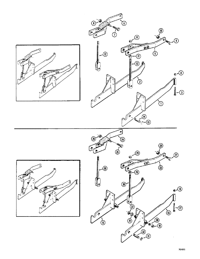
1

D37094

SUPPORT - lower, R.H.

1шт.

2

D37093

SUPPORT - lower, L.H.

1шт.

3

13-1296

BOLT,Hex, 3/4" - 10 x 6", Gr 5

2шт.

4

230-41112

LOCK NUT,3/4"-10, GA

hex., lock (3/4" - 10 NC)

2шт.

D42066

SUPPORT ASSEMBLY - upper, R.H.

1шт.

D42065

SUPPORT ASSEMBLY - upper, L.H., Includes: Ref. 5 - 8

1шт.

5

NSS

NOT SOLD SEPARAT

SUPPORT ARM - upper, R.H.

1шт.

6

NSS

NOT SOLD SEPARAT

SUPPORT ARM - upper, L.H.

1шт.

7

113-652

BOLT

HHCS - 5/8" - 11 NC x 3"

2шт.

8

129-563

NUT,5/8"-11, G8

hex., lock (5/8" - 11 NC)

2шт.

9

D44832

BOLT

special, 1-1/4" - 7 NC x 4"

2шт.

10

25-1020

NUT,1 1/4"-7, G5

2шт.

11

25-1116

NUT,1"-14, G5

hex. (1" - 14 NF)

4шт.

12

D38656

ROD

TENSION - upper to lower support arm

2шт.

13

D26918

SNAP RING,#125, Ext

Ring, Snap, #125, Ext

4шт.

14

D33816

PIN

mounting, rod to lower support arm

2шт.

15

D37651

SUPPORT ARM - lower, R.H., used on models w/ independent PTO

1шт.

16

D37652

SUPPORT - lower, L.H., used on models w/ independent PTO

1шт.

17

13-1296

BOLT,Hex, 3/4" - 10 x 6", Gr 5

Used on models w/ independent PTO Hex, 3/4"-10 x 6", G5

2шт.

18

230-41112

LOCK NUT,3/4"-10, GA

hex., lock (3/4" - 10 NC), used on models w/ independent PTO

2шт.

19

25-1010

NUT,5/8"-11, G5

Used on models w/ independent PTO 5/8"-11, G5

2шт.

20

92-10

LOCK WASHER,5/8"

WASHER, LOCK, , Used on models w/ independent PTO 5/8"

2шт.

21

95-14

WASHER,7/8"

standard wrot (), used on models w/ independent PTO 7/8"

2шт.

22

B18206

SNAP RING,#87, Ext

Ring, Snap, , used on models with independent PTO #87, Ext

2шт.

D42068

SUPPORT ASSEMBLY - upper, R.H., used on models w/ independent PTO, Includes: Ref. 23 - 26

1шт.

D42067

SUPPORT ASSEMBLY - upper, L.H., used on models w/ independent PTO, Includes: Ref. 23 - 26

1шт.

23

NSS

NOT SOLD SEPARAT

SUPPORT ARM - upper, R.H., used on models w/ independent PTO

1шт.

24

NSS

NOT SOLD SEPARAT

SUPPORT ARM - upper, L.H., used on models w/ independent PTO

1шт.

25

113-652

BOLT

HHCS - 5/8" - 11 NC x 3", used on models w/ independent PTO

2шт.

26

129-563

NUT,5/8"-11, G8

hex., lock (5/8" - 11 NC), used on models w/ independent PTO

2шт.

27

D44832

BOLT

special, 1-1/4" - 7 NC x 4", used on models w/ independent PTO

2шт.

28

25-1020

NUT,1 1/4"-7, G5

Used on models w/ independent PTO 1 1/4"-7, G5

2шт.

29

25-1116

NUT,1"-14, G5

hex. (1" - 14 NF), used on models w/ independent PTO

4шт.

30

D38656

ROD

ENSION - upper to lower support arms, used on models w/ independent PTO

2шт.

31

D26918

SNAP RING,#125, Ext

Ring, Snap, , used on models w/ independent PTO #125, Ext

4шт.

32

D33816

PIN

mounting, rod to lower support arm, used on models w/ independent PTO

2шт.

Выбрано товаров: 36