Запчасти Case 33 (236) - D40748 AND D51508 BACKHOE BOOM SECTIONS

Схема запчастей Case 33 - (236) - D40748 AND D51508 BACKHOE BOOM SECTIONS
FIT
1:1
100%

Артикул

Название

Примечание

Количество

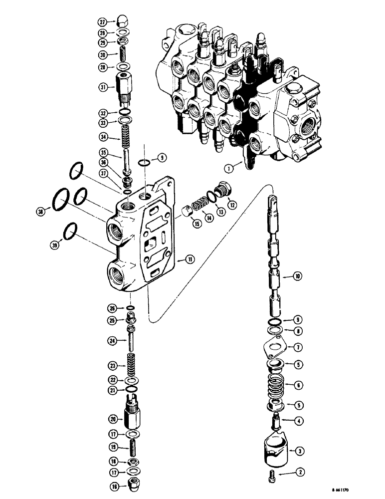
1

D40748

SECTOR

BOOM SECTION - backhoe control valve (Used before backhoe SN 4176351), Includes: Ref. 2 - 26

1шт.

1

D51508

ELEMENT

BOOM SECTION - backhoe control valve (Used on backhoe SN 4176351 and after), Includes: Ref. 2 - 26

1шт.

2

71-412

SCREW,Slotted Fil Hd, 1/4"-20 x 3/4"

FHMS - 1/4" - 20 NC x 3/4"

2шт.

3

D26823

CAP

- boom section

1шт.

4

D26833

BOLT

- stripper, special

1шт.

5

D26831

GUIDE

- spring

2шт.

6

D40201

SPRING

- centering

1шт.

7

D26830

PLATE

- retaining

1шт.

8

D26829

RING

-backup

1шт.

9

D36830

RING

SEAL - quad ring

2шт.

10

NSS

NOT SOLD SEPARAT

SPOOL - boom section

1шт.

11

NSS

NOT SOLD SEPARAT

HOUSING - boom section

1шт.

12

D30696

CYLINDER END CAP

CAP - check valve

1шт.

13

A35104

O-RING,0.103" Thk x 0.862" ID, -118, Cl 5, 75 Duro

SEAL - "O"ring

1шт.

14

D26826

COMPRESSION SPRING

SPRING - check valve

1шт.

15

D26824

SPOOL

POPPET - check valve

1шт.

D42866

VALVE

CARTRIDGE - secondary relief, lower (Not preset) Must be set to correct pressure when installed on valve, Includes: Ref. 16 - 26

1шт.

16

129-526

CROWN NUT,Low, 3/8" - 24

- acorn (3/8" - 24 NF)

1шт.

17

23150

WASHER

GASKET - copper

2шт.

18

25-156

JAM NUT,Jam, 3/8"-24, G5

- hex., lock (3/8" - 24 NF)

1шт.

19

D38814

ADJUSTMENT SCREW,3/8" - 24

SCREW - set, special

1шт.

20

NSS

NOT SOLD SEPARAT

BODY - cartridge

1шт.

21

D26872

O-RING

SEAL - "O"ring, 1/2" I.D. x 5/8" O.D.

1шт.

22

D31450

WASHER

- gasket

1шт.

D42865

VALVE POPPET

KIT - seat, poppet and spring, Includes: Ref. 23 - 26

1шт.

23

NSS

NOT SOLD SEPARAT

SPRING - relief valve

1шт.

24

NSS

NOT SOLD SEPARAT

POPPET - relief valve

1шт.

25

NSS

NOT SOLD SEPARAT

SEAT - relief valve

1шт.

26

D31411

O-RING,0.07" Thk x 0.239" ID, -10, Cl 6, 90 Duro

-010, 90 Duro, .239" ID x .070" Thk, Seal (1/4" ID x 3/8" OD)

1шт.

D39454

CARTRIDGE

- secondary relief, upper (Not preset) Must be set to correct pressure when installed on valve, Includes: Ref. 27 - 37

1шт.

27

129-526

CROWN NUT,Low, 3/8" - 24

- acorn (3/8" - 24 NF)

1шт.

28

23150

WASHER

GASKET - copper

2шт.

29

25-156

JAM NUT,Jam, 3/8"-24, G5

- hex., lock (3/8" - 24 NF)

1шт.

30

D38814

ADJUSTMENT SCREW,3/8" - 24

SCREW - set, special

1шт.

31

NSS

NOT SOLD SEPARAT

BODY - cartridge

1шт.

32

D26872

O-RING

SEAL - "O"ring, 1/2" I.D. x 5/8" O.D.

1шт.

33

D31450

WASHER

- gasket

1шт.

34

NSS

NOT SOLD SEPARAT

SPRING - relief valve

1шт.

D40189

PACKAGE

KIT - seat and poppet

1шт.

35

NSS

NOT SOLD SEPARAT

POPPET - relief valve

1шт.

36

NSS

NOT SOLD SEPARAT

SEAT - relief valve

1шт.

37

D31411

O-RING,0.07" Thk x 0.239" ID, -10, Cl 6, 90 Duro

-010, 90 Duro, .239" ID x .070" Thk, Seal (1/4" ID x 3/8" OD)

1шт.

38

L35522.

SEAL - "O"ring, 1-9/16" I.D. x 1-3/4" O.D.

1шт.

39

D61904

SEALING RING,Square, 2.38mm Thk x 33.34mm ID, 90 Duro

SEAL - "O"ring, 1-5/16" I.D. x 1-1/2" O.D.

3шт.

Выбрано товаров: 44