Запчасти Case 35 (346) - LOADER RETURN-TO-DIG, AND ANTI-ROLLBACK PARTS

Схема запчастей Case 35 - (346) - LOADER RETURN-TO-DIG, AND ANTI-ROLLBACK PARTS
FIT
1:1
100%

Артикул

Название

Примечание

Количество

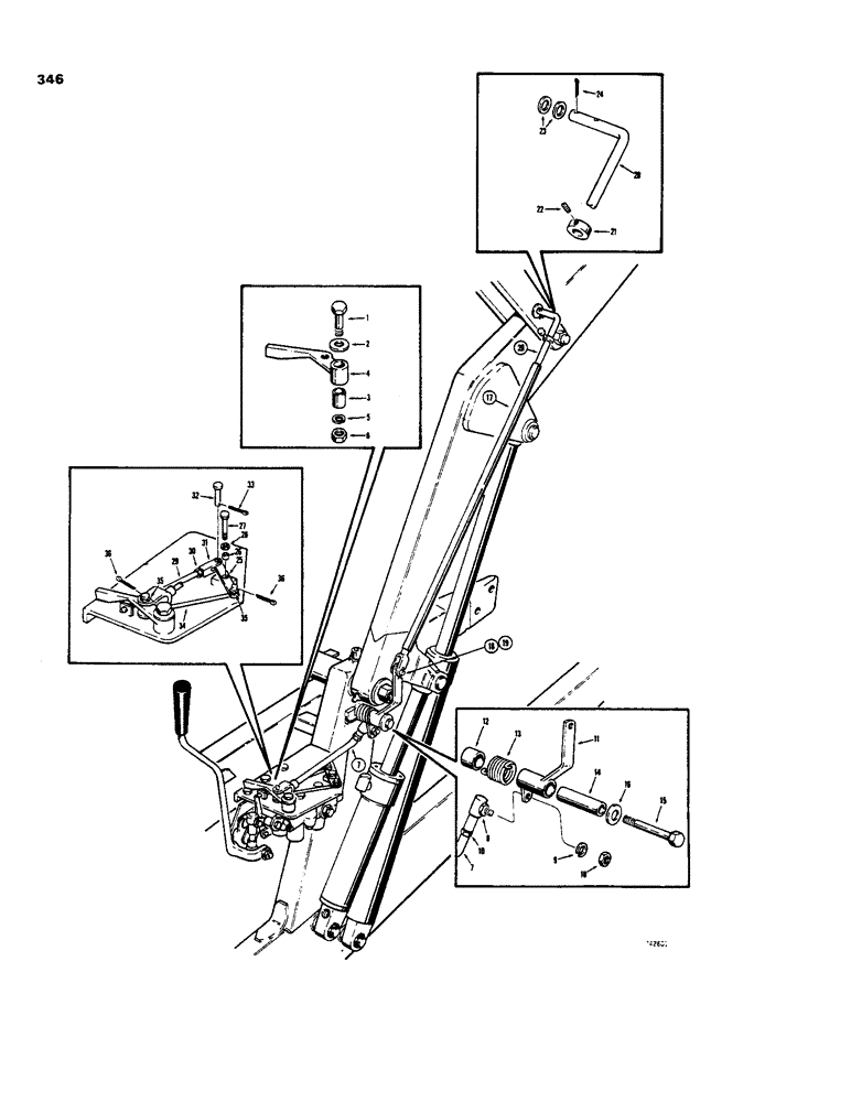
1

13-640

BOLT,Hex, 3/8" - 16 x 2-1/2", Gr 5

- hex, 3/8" - 16 NC x 2-1/2"

1шт.

2

95-6

WASHER,3/8"

- flat, 3/8"

1шт.

3

D37559

SLEEVE

- latch

1шт.

4

D37577

LATCH ASSY.

LATCH - dig return

1шт.

5

92-6

LOCK WASHER,3/8"

if used 3/8"

1шт.

6

25-106

NUT,3/8"-16, G5

- hex, 3/8" - 16 NC is used

1шт.

6

131-352

LOCK NUT,3/8"-16, GA

NUT - hex, lock, 3/8" - 16 NC, if used

1шт.

7

D43968

DRAG LINK

ROD - connecting, Serial Range: latch-lever

1шт.

8

D38296

JOINT

BALL JOINT - connecting rod

1шт.

9

92-6

LOCK WASHER,3/8"

1шт.

10

25-116

NUT,Hex, 3/8"-24, G5

- hex, 3/8" - 24 NF

2шт.

11

D44015

LEVER

- dig return

1шт.

12

D37569

SPACER,1 1/2" Tube x 5/8"

- lever

1шт.

13

D37560

VALVE SPRING

SPRING - lever

1шт.

14

D37564

SLEEVE CYLINDER

SLEEVE - spacer

1шт.

15

13-864

BOLT,Hex, 1/2" - 13 x 4", Gr 5

1шт.

16

195-33

WASHER,1/2"

- flat, 1/2"

1шт.

17

D37567

GUIDE

- rod

1шт.

18

141-4

CLEVIS PIN,3/8" x 1.060"

PIN, CLEVIS, 3/8" x 1.060"

1шт.

19

132-25

COTTER PIN,3/32" x 5/8"

PIN - cotter, 3/43" diameter x 5/8"

1шт.

20

D37568

ROD

- connecting, lever tp dump ink

1шт.

21

D37570

COLLAR

- rod adjusting

1шт.

22

85-46

SET SCREW,Sq Hd, 1/4"-20 x 3/8"

SCREW - set, square head, 1/4" - 20 NC x 3/8"

1шт.

23

195-33

WASHER,1/2"

- flat, 1/2"

2шт.

24

132-48

COTTER PIN,1/8" x 1"

Pin, Split (Cotter), 1/8" x 1"

2шт.

25

D43961

DRAG LINK

LEVER - pivot, anti-rollback

1шт.

26

D43962

BUSHING

SPACER - lever

1шт.

27

13-616

BOLT,Hex, 3/8" - 16 x 1", Gr 5, Full Thd

1шт.

28

95-6

WASHER,3/8"

- flat, 3/8"

1шт.

29

D43965

PUSH ROD

ROD - stop, anti-rollback

1шт.

30

25-116

NUT,Hex, 3/8"-24, G5

- hex, 3/8" - 24 NF

1шт.

31

213-4

ADJUSTABLE CLEVIS,3/8"-24 x 2 1/2"

YOKE - rod

1шт.

32

141-4

CLEVIS PIN,3/8" x 1.060"

PIN, CLEVIS, 3/8" x 1.060"

1шт.

33

132-25

COTTER PIN,3/32" x 5/8"

Pin, Split (Cotter), 3/32" x 5/8"

1шт.

34

D43960

LINK

- connecting, pivot lever to latch, models without noise control

1шт.

34

D59940

LINK

- connecting, pivot lever to latch, models with noise control

1шт.

35

95-6

WASHER,3/8"

- flat, 3/8"

2шт.

36

132-25

COTTER PIN,3/32" x 5/8"

Pin, Split (Cotter), 3/32" x 5/8"

2шт.

Выбрано товаров: 38