Запчасти Case 35 (390) - BACKHOE BUCKETS, OPTIONAL TYPES, MACHINERY ITEM

Схема запчастей Case 35 - (390) - BACKHOE BUCKETS, OPTIONAL TYPES, MACHINERY ITEM
FIT
1:1
100%

Артикул

Название

Примечание

Количество

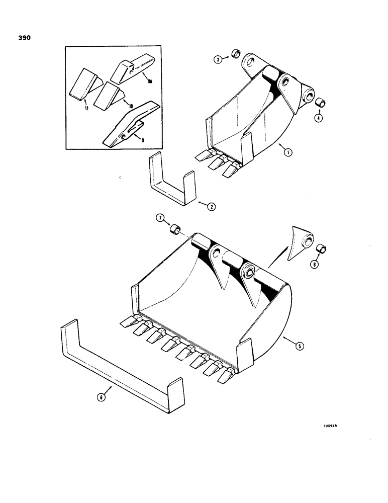
1

D41547

BUCKET

- backhoe, bellhole, 12', Includes: Ref. 2 - 4

1шт.

2

D37490

KNIFE

BLADE - cutting

1шт.

3

D40243

BUSHING,44.68mm ID x 57.15mm OD x 19.05mm L

- bucket, at dipper arm

2шт.

4

D30933

BUSHING,38.41mm ID x 47.63mm OD x 31.75mm L

- bucket, bucket link pin hole

2шт.

1

D41548

BUCKET

- backhoe, bellhole, 16", Includes: Ref. 2 - 4

1шт.

2

37518

BLADE - cutting

1шт.

3

D37495

BUSHING,44.76mm ID x 57.15mm OD x 31.75mm L

- bucket, at dipper arm

2шт.

4

D30933

BUSHING,38.41mm ID x 47.63mm OD x 31.75mm L

- bucket,bucket link pin hole

2шт.

1

D41549

BUCKET

- backhoe, bellhole, 30", Includes: Ref. 2 - 4

1шт.

2

D37515

EDGE

BLADE - cutting

1шт.

3

D37495

BUSHING,44.76mm ID x 57.15mm OD x 31.75mm L

- bucket, at dipper arm

2шт.

4

30933

BUSHING - bucket,bucket link pin hole

2шт.

5

D41550

BUCKET

- backhoe, combination bellhole and graveyard, 36", Includes: Ref. 6 - 8

1шт.

6

NLS

NO LONGER SERVICED

BLADE - cutting, combination bellhole and graveyard bucket machinery item

1шт.

7

D37495

BUSHING,44.76mm ID x 57.15mm OD x 31.75mm L

- bucket, at dipper arm, combination bellhole and graveyard machinery item

2шт.

8

D30933

BUSHING,38.41mm ID x 47.63mm OD x 31.75mm L

- link pin hole, combination bellhole and graveyard bucket machinery item

2шт.

9

D58499

SUPPORT

SHANK - tooth, service option, combination bellhole and graveyard bucket machinery item

1шт.

9a

D26368

SUPPORT

SHANK - tooth, original equipment, combination bellhole and graveyard bucket machinery item

1шт.

10

D58576

TOOTH

POINT - tooth, H and L manufactured, 4-7/8" long, combination bellhole and graveyard bucket machinery item

1шт.

10

D58577

TOOTH

POINT - tooth, Fabco manufactured, heavy duty service option, combination bellhole and graveyard bucket machinery item

1шт.

11

D58592

TOOTH

POINT - tooth, H and L manufactured, heavy duty service option, combination bellhole and graveyard bucket machinery item

1шт.

11

D58593

TOOTH

POINT - tooth, Fabco manufactured, heavy duty service option, combination bellhole and graveyard bucket machinery item

1шт.

Выбрано товаров: 0