Запчасти Case 35 (472) - SPECIAL PARTS REQUIRED WITH SIDE SHIFT BACKHOE, FRONT COUNTERWEIGHT

Схема запчастей Case 35 - (472) - SPECIAL PARTS REQUIRED WITH SIDE SHIFT BACKHOE, FRONT COUNTERWEIGHT
FIT
1:1
100%

Артикул

Название

Примечание

Количество

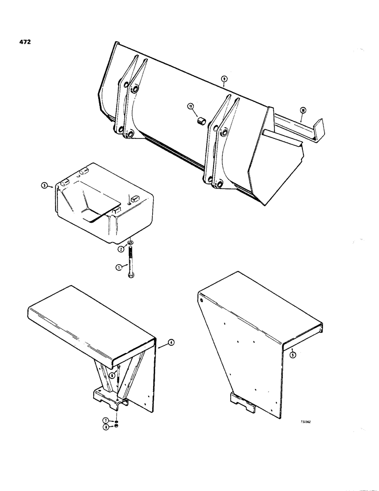
1

13-12136

BOLT,Hex, 3/4" - 10 x 8-1/2", Gr 5

- hex, 3/4" - 10 NC x 8-1/2"

2шт.

2

D34666

WASHER,33.34mm ID x 63.5mm OD x 2.38mm Thk

- special, hardened

2шт.

3

E12332

WEIGHT

COUNTERWEIGHT - front, 720 lbs (326 kg)

1шт.

4

D58444

FENDER - rear, RH

1шт.

5

D58445

FENDER - rear, LH

1шт.

6

13-8152

BOLT,Hex, 1/2" - 13 x 9-1/2", Gr 5

- hex, 1/2" - 13 NC x 9-1/2", fender

4шт.

7

92-8

LOCK WASHER,1/2"

fender 1/2"

4шт.

8

25-108

NUT,1/2"-13, G5

- hex, 1/2" - 13 NC, fender

4шт.

9

D67287

BUCKET - loader, 80" wide, extra weight, machinery item, Includes: Ref. 10 and 11

1шт.

10

D95073

EDGE, CUTTING,4” W x 78.47” L x 6” H x 3/4” Thk

CUTTING EDGE - loader bucket machinery item

1шт.

11

D30932

BUSHING,38.33mm ID x 47.63mm OD x 28.45mm L

- bucket ear, loader machinery item

4шт.

Выбрано товаров: 0