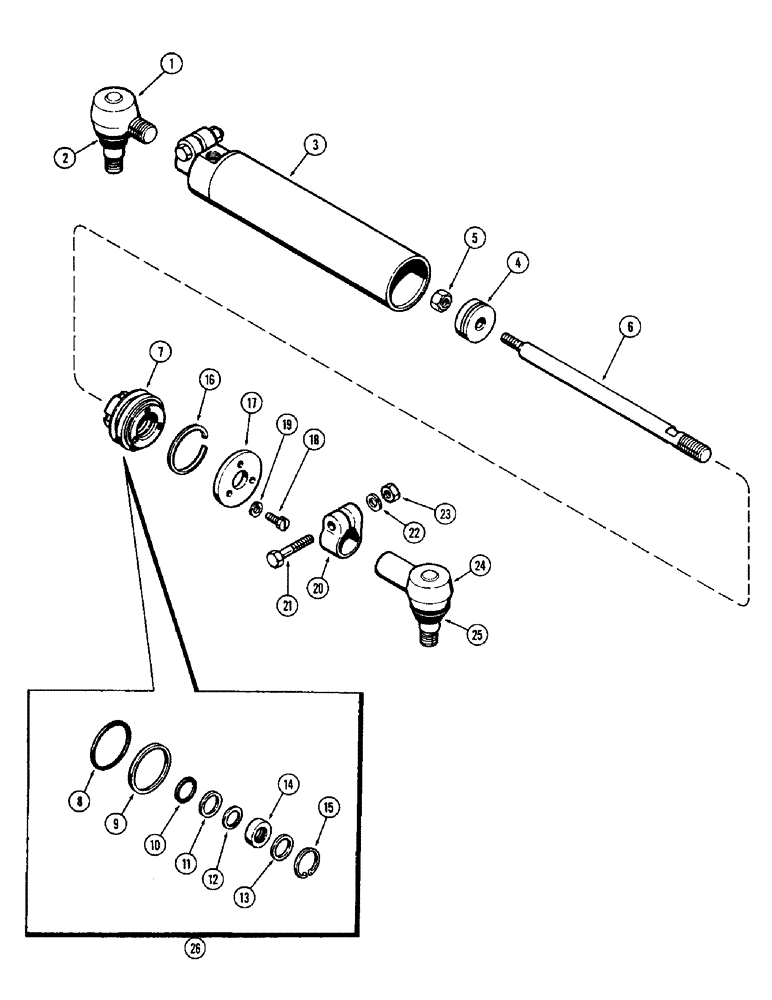
Запчасти Case 580B (153C) - A37859 STEERING CYLINDER, USED PRIOR TO TRAC. SER. NO. 8735171 (05) - STEERING

Схема запчастей Case 580B - (153C) - A37859 STEERING CYLINDER, USED PRIOR TO TRAC. SER. NO. 8735171 (05) - STEERING
1
17
8
25
16
12
7
3
2
19
6
11
15
13
5
10
21
22
26
18
14
20
9
23
4
24
FIT
1:1
100%

Артикул

Название

Примечание

Количество

A37859

CYLINDER

steering (Order A137503 Figure 152), Includes: Ref. 1 - 25

1шт.

1

A40962

BALL JOINT

male thread, Includes: Ref. 2

1шт.

2

A41424

SEAL

Boot, end

1шт.

3

NSS

NOT SOLD SEPARAT

BODY - cylinder (Order A137503)

1шт.

4

A36395

PISTON

1шт.

5

131-366

NUT

1шт.

6

A35873

ROD

piston

1шт.

7

A36443

GLAND

cylinder, Includes: Ref. 8 - 16

1шт.

8

A7156

O-RING,0.139" Thk x 1.734" ID, -224, Cl 6, 90 Duro

(See ref. 26)

1шт.

9

A35884

WASHER

back-up, 1-3/4" I.D. leather (See ref. 26)

1шт.

10

F62114

O-RING,0.103" Thk x 0.674" ID, -115, Cl 5, 75 Duro

(See ref. 26)

1шт.

11

A35879

RING

back-up, .087" I.D. leather (See ref. 26)

1шт.

12

F9886

WASHER

retaining (See ref. 26)

1шт.

13

F9887

WASHER

retaining, oil seal (See ref. 26)

2шт.

14

A11061

SEAL

(See ref. 26)

1шт.

15

A37885

RING - snap (See ref. 26)

1шт.

16

A35885

RING

gland retainer

1шт.

17

A35887

PLATE ASSY.

end

1шт.

18

182-125

SCREW,Sl Pan Hd, #10 - 24 x 1/2"

3шт.

19

92-3

LOCK WASHER,#10

3шт.

20

A27080

CLAMP

end, Includes: Ref. 21 - 23

1шт.

21

14-628

BOLT,Hex, 3/8" - 24 x 1-3/4", Gr 5

1шт.

22

92-6

LOCK WASHER,3/8"

1шт.

23

25-116

NUT,Hex, 3/8"-24, G5

1шт.

24

A40963

BALL JOINT

female thread, Includes: Ref. 25

1шт.

25

A41424

SEAL

BOOT - end

1шт.

26

A36396

SEAL KIT

gland seal repair (Incl. items 8 - 15)

1шт.

Выбрано товаров: 27