Запчасти Case 580B (198) - MAINSHAFT (06) - POWER TRAIN

Схема запчастей Case 580B - (198) - MAINSHAFT (06) - POWER TRAIN
25
5
26
10
16
21
8
17
15
19
18
4
3
1
23
22
9
7
20
12
14
24
2
11
27
13
6
FIT
1:1
100%

Артикул

Название

Примечание

Количество

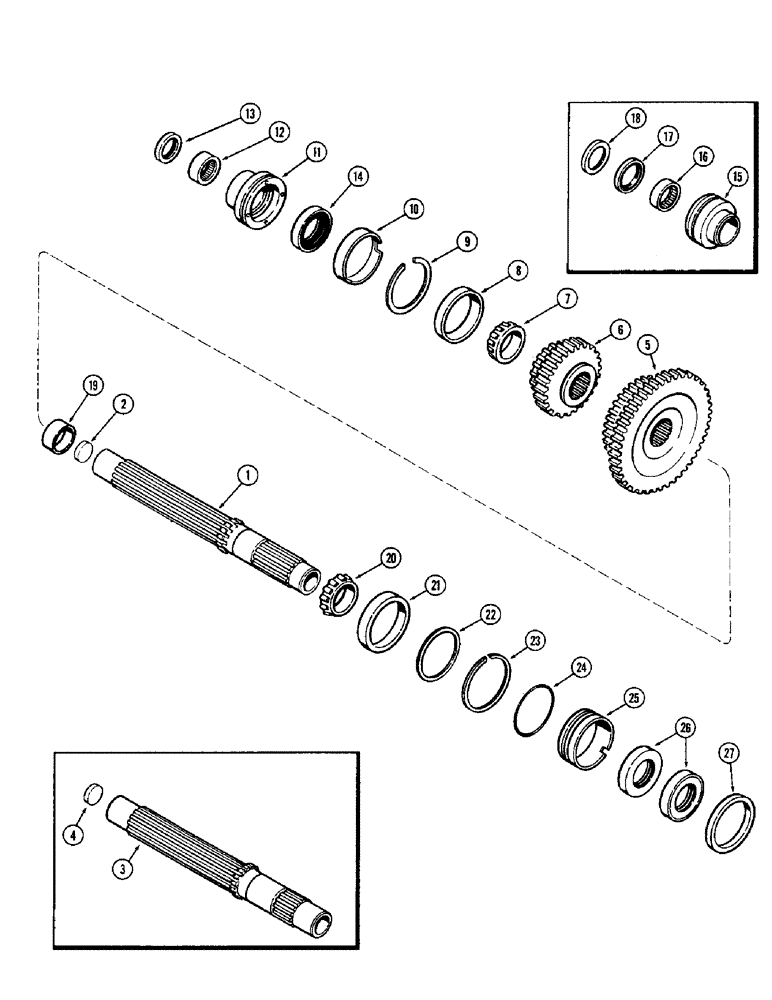
1

G13462

SHAFT

- main drive (Used w/mech. shuttle) ( Used w/P.T.O.) (Replaces A37604), 14-19/32" long

1шт.

2

A38534

PLUG

- 1-1/16" cup type (Used w/o P.T.O.)

1шт.

3

A51180

SHAFT - main drive (Solid) (Order A38849 & A38534)

1шт.

3

A38849

SHAFT

- main drive (Used w/power shuttle), 14-1/8" long

1шт.

4

A38534

PLUG

- 1-1/16" cup type (Used w/o P.T.O.)

1шт.

5

A38917

GEAR

- 3rd & 4th speed (28 teeth & 44 teeth)

1шт.

6

A38630

GEAR

- 1st & 2nd speed (16 teeth & 25 teeth)

1шт.

7

A29976

ROLLER BEARING

CONE - rear bearing, main shaft

1шт.

8

A29977

BEARING CUP

CUP - rear bearing

1шт.

9

A29971

RING

- snap, bearing retaining

1шт.

10

G10616

CUP

- oil slinger (Used without P.T.O.)

1шт.

11

A39275

BEARING ASSY

HOUSING ASSY. - mainshaft rear oil seal, Inlcudes: Ref. 12 - 14

1шт.

12

A37606

NEEDLE BEARING,1.25" ID x 1.5005" OD x 0.5"

BEARING - roller, needle (1-1/2 x 1-1/4 x 1/2")

1шт.

13

A37605

OIL SEAL

- oil (1-1/2 x 2-1/8 x 5/16")

1шт.

14

A57479

OIL SEAL

- oil (1-1/2 x 2-1/8 x 5/16")

1шт.

15

A37604

HOUSING

ASSY. - mainshaft rear oil seal (Used w/P.T.O.) (Order 1-A39275 & 1-A39240), Inlcudes: Ref. 16 - 18

1шт.

16

A37606

NEEDLE BEARING,1.25" ID x 1.5005" OD x 0.5"

BEARING - roller, needle (1-1/2 x 1-1/4 x 1/2")

1шт.

17

A37605

OIL SEAL

- oil, (1-1/4 x 1-5/8 x 3/16")

1шт.

18

A37607

COLLAR CLAMP

COLLAR - oil seal (1-17/64 x 1-5/8 x 3/16")

1шт.

19

A39240

SLEEVE

- wear (1-3/8 x 1-1/2 x 41/64")

1шт.

20

G10424

CONE

- front bearing, main shaft

1шт.

21

G10425

CUP

- front bearing

1шт.

22

G10340

SHIM,.007" Thk

Bearing adjusting .007" Thk

1шт.

22

G10341

SHIM,.005" Thk

Bearing adjusting .005" Thk

1шт.

23

A30092

RING

- snap, oil seal housing (Used w/mech. shuttle)

1шт.

24

G10389

O-RING,0.139" Thk x 2.609" ID, -231, Cl 5, 75 Duro

"O" RING - 2-5/8 x 2-7/8 x 1/8" (Used w/mech. shuttle)

1шт.

25

A39185

CARRIER

HOUSING - front oil seal (w/mech. shuttle)

1шт.

26

G10422

OIL SEAL

- oil, mainshaft front, 1-9/16 x 2-7/16 x 15/32"

2шт.

27

A39184

COLLAR

- pilot (Used w/power shuttle) (Replaces G10311)

1шт.

Выбрано товаров: 29