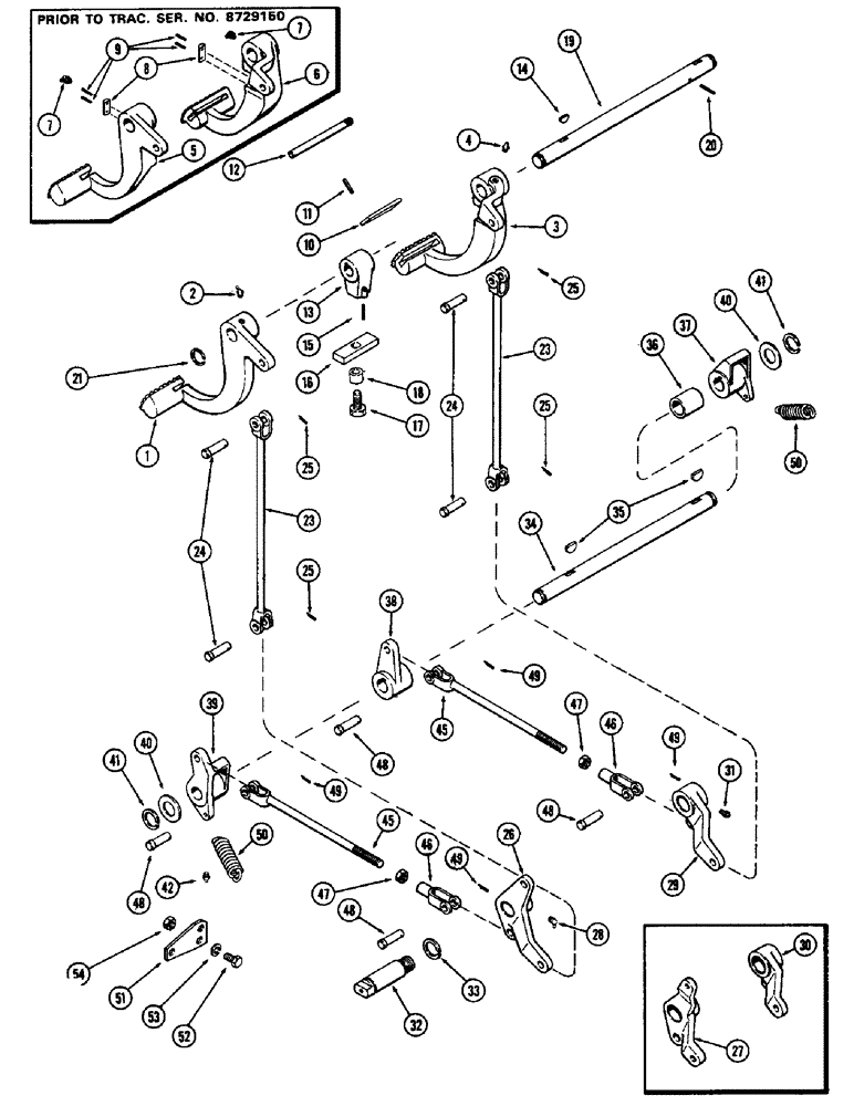
Запчасти Case 580B (212) - BRAKE PEDALS AND LINKAGE, POWER SHUTTLE (07) - BRAKES

Схема запчастей Case 580B - (212) - BRAKE PEDALS AND LINKAGE, POWER SHUTTLE (07) - BRAKES
47
32
50
24
40
46
49
27
2
5
37
49
40
35
16
51
52
45
41
28
12
47
14
8
48
49
21
7
25
39
1
50
4
25
34
3
54
30
6
13
26
31
23
46
38
17
23
49
11
9
29
25
45
10
7
18
36
25
48
20
33
49
48
53
19
15
24
42
41
FIT
1:1
100%

Артикул

Название

Примечание

Количество

1

A51686

PEDAL

- brake, R.H. (1st used trac. ser. no. 8729150)

1шт.

2

219-36

LUBE NIPPLE,45 Degree Elbow, 1/8" - 27 NPTF

FITTING - lube, 1/8" 45 degrees (R.H. pedal)

1шт.

3

A51687

PEDAL

- brake, L.H. (1st used trac. ser. no. 8729150)

1шт.

4

219-1

LUBE NIPPLE,1/8" - 27 NPTF

FITTING - lube, 1/8" str. (L.H. pedal)

1шт.

5

A39316

PEDAL

- brake, R.H. (Used prior to trac. ser. no. 8729150)

1шт.

6

A39317

PEDAL

- brake, L.H. (Used prior to trac. ser. no. 8729150)

1шт.

7

129-55

FITTING - lube, 1/8" 90 degrees (Used prior to trac. ser. no. 8729150)

2шт.

8

A37709

INSERT

- equalizer (Used prior to trac. ser. no. 8729150)

2шт.

9

138-2013

PIN,1/8" x 9/16", Coiled

(Used prior to tractor S/N 8729150) 1/8" x 9/16", Coiled

4шт.

10

A37704

INTERLOCK - brack pedals

1шт.

11

138-155

LOCK PIN,5/16" x 1 1/4", Slotted

PIN, 5/16" x 1 1/4", Slotted

1шт.

12

A37745

STUD

- pedal stop

1шт.

13

A37744

LEVER

- equalizer, brack pedal

1шт.

14

126-21

WOODRUFF KEY,#A, 1/4" x 7/8"

Equalizer lever #A, 1/4" x 7/8"

1шт.

15

138-96

LOCK PIN,3/16" x 1", Slotted

PIN, 3/16" x 1", Slotted

1шт.

16

A37707

DRAG LINK

LINK - pedal equalizer

1шт.

17

13-824

BOLT,Hex, 1/2" - 13 x 1-1/2", Gr 5, Full Thd

1шт.

18

A38285

SPACER

- link bolt

1шт.

19

A37701

SHAFT

- cross, brake pedal

1шт.

20

138-65

LOCK PIN,1/8" x 1 1/2", Slotted

PIN, 1/8" x 1 1/2", Slotted

1шт.

21

A37235

SNAP RING,#100, .941", Ext

RING - snap, pedal shaft

1шт.

23

A37238

ROD

- brack, Serial Range: pedal-pivot

2шт.

24

141-6

CLEVIS PIN,1/2" x 1.360"

PIN - yoke, 1/2" x 1-3/8"

4шт.

25

132-48

COTTER PIN,1/8" x 1"

Pin, Split (Cotter), 1/8" x 1"

4шт.

26

A51786

LEVER

- pivot, R.H. (1st used trans. ser. no. 243032)

1шт.

27

A39838

LEVER

- pivot, R.H. (Replaced A39335) (Used prior to trans. ser. no. 2430328)

1шт.

28

219-55

LUBE NIPPLE,90 Degree Elbow, 1/8" - 27 NPTF

NIPPLE, LUBE, 90º, 1/8" NPT x .84" lg

1шт.

29

A51787

LEVER

- pivot, L.H. (1st used trans. ser. no. 2430328)

1шт.

30

A39334

LEVER

- pivot, L.H. (Used prior to trans. ser. no. 2430328)

1шт.

31

219-1

LUBE NIPPLE,1/8" - 27 NPTF

FITTING - lube, 1/8" P.T., str.

1шт.

32

A37491

SHAFT

- stub, pivot levers

1шт.

33

A37237

TEE

RING - snap, pivot shaft

1шт.

34

G10708

SHAFT

- cross, lower brake lever

1шт.

35

126-124

WOODRUFF KEY,#15, 1/4" x 1", HT

2шт.

36

G16783

SPACER

- lever, L.H.

1шт.

37

G1057

LEVER

- brake, L.H. (L.H. end of shaft)

1шт.

38

A37230

LEVER

- brake, L.H. (R.H. end of shaft)

1шт.

39

A37231

LEVER

- brake, R.H.

1шт.

40

B18145

WASHER

- 1-7/8" O.D. x 1-3/32" I.D.

2шт.

41

F62093

RING, SNAP

RING - snap, lever cross shaft

2шт.

42

219-1

LUBE NIPPLE,1/8" - 27 NPTF

FITTING - lube, 1/8" P.T., str.

1шт.

45

A37239

ROD

- brake to pivot lever

2шт.

46

213-6

ADJUSTABLE CLEVIS,1/2"-20 x 3"

YOKE - rod

2шт.

47

25-58

NUT - 1/2" N.F. hex., jam

2шт.

48

141-6

CLEVIS PIN,1/2" x 1.360"

PIN - yoke, 1/2" x 1-3/8"

4шт.

49

132-48

COTTER PIN,1/8" x 1"

Pin, Split (Cotter), 1/8" x 1"

4шт.

50

G10848

SPRING

- lever return

2шт.

51

A39333

BRACKET

- brake spring anchor, R.H.

1шт.

52

13-628

BOLT,Hex, 3/8" - 16 x 1-3/4", Gr 5

2шт.

53

92-6

LOCK WASHER,3/8"

WASHER - lock, 3/8"

2шт.

54

25-106

NUT,3/8"-16, G5

- 3/8" N.C. hex.

2шт.

Выбрано товаров: 51