Запчасти Case 580B (017A) - ETHER STARTING AID (02) - ENGINE

Схема запчастей Case 580B - (017A) - ETHER STARTING AID (02) - ENGINE
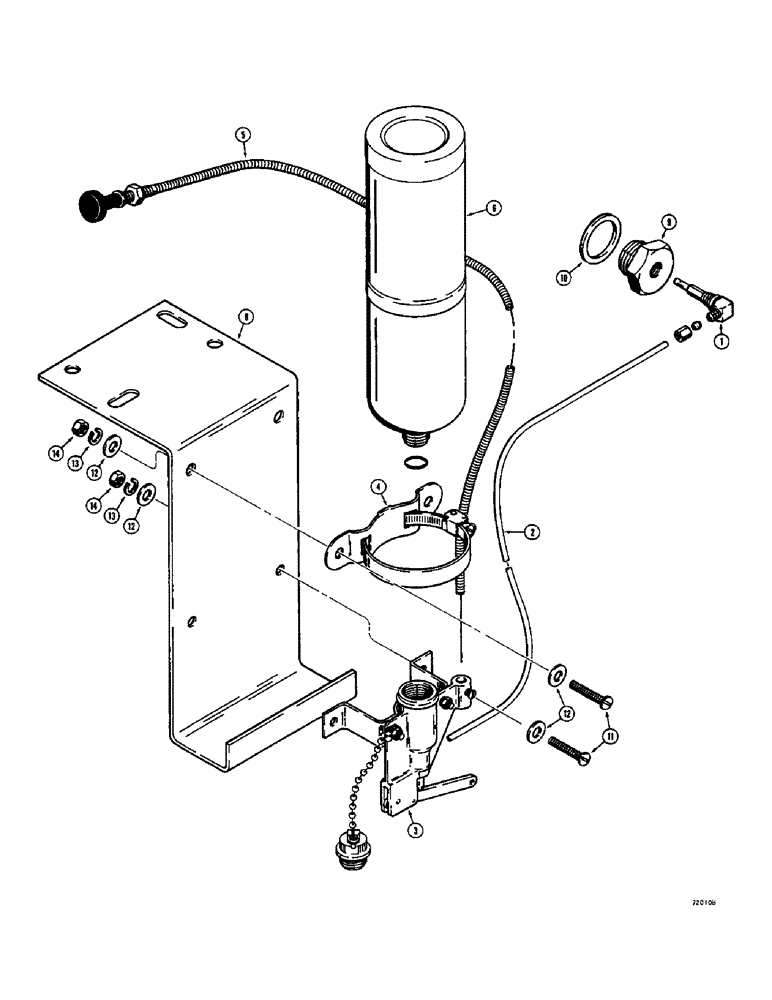
1
14
13
9
8
2
10
13
12
12
6
4
3
12
11
14
5
FIT
1:1
100%

Артикул

Название

Примечание

Количество

1

D55946

JET

ASSY. - starting aid (Includes one 1/8" compression fitting)

1шт.

2

D55947

TUBE

- actuator valve to jet (60" long) (Includes two 1/8" compression fittings)

1шт.

3

D55948

VALVE

ASSY. - actuator (Includes plug & chain & 90 degrees elbow for 1/8" tube)

1шт.

4

D55949

BRACKET

CLAMP -, Serial Range: cylinder-bracket

1шт.

5

D55950

CABLE

ASSY. - control

1шт.

6

D55767

CYLINDER

- cold starting fuel

1шт.

D55951

REPAIR KIT

KIT - overhaul (Includes two "O"rings, on 1/8" compression fitting & one 3/32" drive pin) (Not illustrated)

1шт.

8

D55692

BRACKET

- mounting, starting aid

1шт.

9

D54833

PLUG

- manifold

1шт.

10

A20916

MANIFOLD GASKET

WASHER - manifold plug

1шт.

11

75-416

SCREW,Rd, 1/4" - 20 x 1"

- machine, (1/4"-20 N.C. x 1" round head)

4шт.

12

95-4

WASHER,1/4"

- plain () 1/4"

8шт.

13

92-4

LOCK WASHER,1/4"

WASHER, LOCK, 1/4"

4шт.

14

25-104

NUT,1/4"-20, G5

4шт.

Выбрано товаров: 14