Запчасти Case 580B (031A) - OIL PAN, (188) DIESEL ENGINE (02) - ENGINE

Схема запчастей Case 580B - (031A) - OIL PAN, (188) DIESEL ENGINE (02) - ENGINE
7
8
10
12
6
1
3
5
14
11
16
4
13
9
1
4
2
15
FIT
1:1
100%

Артикул

Название

Примечание

Количество

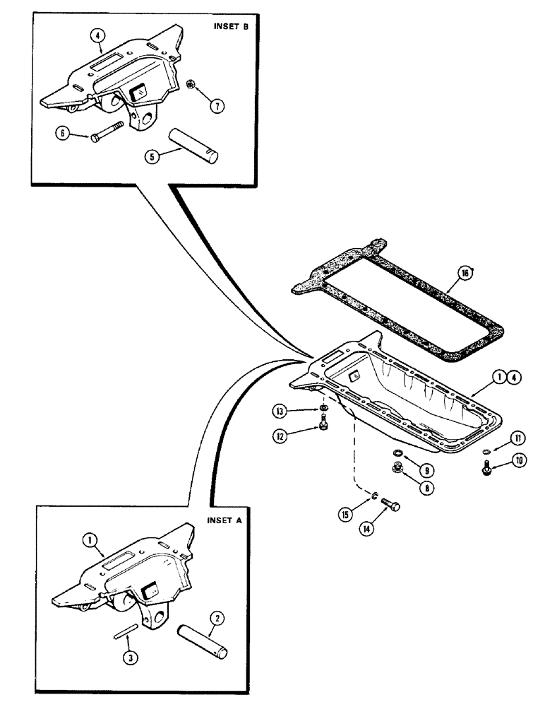
1

A38425

PAN

- oil (Used with A51356 radius rod rear pivot pin and 135-361 groove pin) (See inset A) (Order 1-A51539 oil pan, 1-A51537 bolt and 131-351 nut)

1шт.

2

A51356

PIN

- radius rod rear pivot

1шт.

3

135-361

GROOVED PIN,1/4" x 2", Type F

PIN - Grooved, 1/4" x 2", Type F

1шт.

4

A51539

PAN

- oil (Used with A51537 pivot pin, 26-544 bolt and 131-351 nut) (See inset B)

1шт.

5

A51537

PIN

- radius rod rear pivot

1шт.

6

26-544

BOLT,Hex, 5/16" - 18 x 2-3/4", Gr 8

- 5/16 x 2-3/4" N.C. hex.

1шт.

7

131-151

LOCK NUT

NUT - 5/16" N.C. hex.

1шт.

8

A140222

PLUG

- drain (Replaces A14280)

1шт.

9

A58608

GASKET

- drain plug, nylon

1шт.

10

26-528

BOLT,Hex, 5/16" - 18 x 1-3/4", Gr 8

- (5/16 x 1-3/4" N.C. hex.)

14шт.

10

26-516

BOLT,Hex, 5/16" - 18 x 1", Gr 8

2шт.

11

193-83

LOCK WASHER,Int Tooth, 5/16"

WASHER - Shakeproof, 5/16" ext.

16шт.

12

26-564

BOLT,Hex, 5/16" - 18 x 4", Gr 8

- (5/16 x 4" N.C. hex.)

2шт.

13

195-1019

WASHER

- 11/21 x 7/8 x 1/16", brass

2шт.

14

113-663

BOLT (SPREADER)

BOLT - 5/8 x 2-1/4" N.C. hex. (To torque tube)

2шт.

15

92-10

LOCK WASHER,5/8"

WASHER, LOCK, 5/8"

2шт.

16

NSS

NOT SOLD SEPARAT

GASKET - oil pan (Order A43064 Figure 32)

1шт.

Выбрано товаров: 17