Запчасти Case 580B (086) - CYLINDER HEAD AND COVER, (188) SPARK IGNITION ENGINE (02) - ENGINE

Схема запчастей Case 580B - (086) - CYLINDER HEAD AND COVER, (188) SPARK IGNITION ENGINE (02) - ENGINE
2
9
25
20
1
6
7
21
24
17
18
15
22
26
19
8
23
16
27
10
4
5
3
FIT
1:1
100%

Артикул

Название

Примечание

Количество

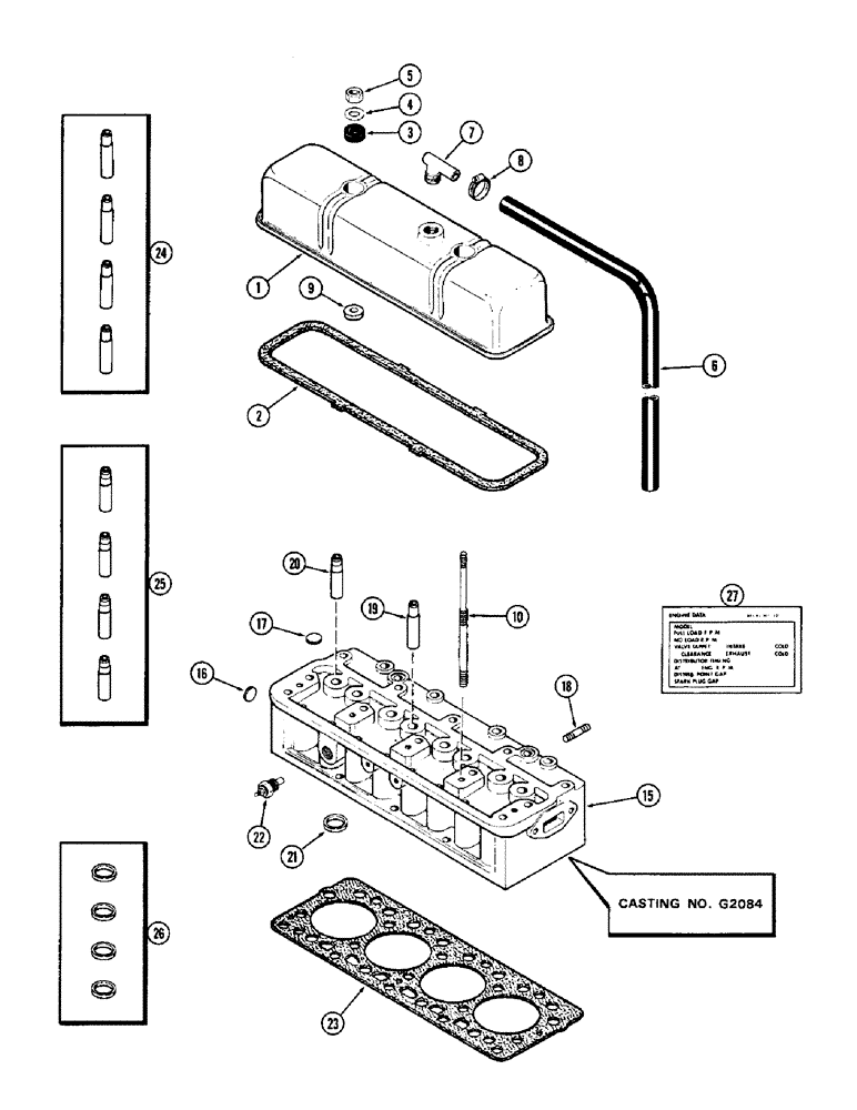
1

A36815

COVER

ASSY. - cylinder head

1шт.

2

A43030

GASKET,3.05mm Thk

- cover

1шт.

3

A142098

GROMMET

- rubber (Replaces G46867)

2шт.

4

G49400

WASHER

- cover nut

2шт.

5

25-106

NUT,3/8"-16, G5

- 3/8" N.C. hex.

2шт.

6

A39570

HOSE

- breather, neoprene

1шт.

7

A9155

90 ELBOW

- breather

1шт.

8

214-253

HOSE CLAMP,#10, 0.56" - 1.06", Type F Worm

CLAMP - hose, 9/16 to 1-1/16"

1шт.

9

G11352

BUSHING

SPACER - cover, 13/32 x 1-1/8 x 11/32"

2шт.

10

A36780

STUD

- cover

2шт.

15

A39270

HEAD

ASSY. - cylinder (Casting #G2084), Inlcudes: Ref. 16 - 21

1шт.

16

41-18

PLUG

- 1-1/8" expansion

1шт.

17

41-13

GUARD,Exp, 13/16"

- 13/16" expansion

2шт.

18

A29431

STUD

- 3/16" N.C. 1-3/4"

7шт.

19

NSS

NOT SOLD SEPARAT

GUIDE - intake valve (Order ref. 24)

4шт.

20

NSS

NOT SOLD SEPARAT

GUIDE - exhaust valve (Order ref. 25)

4шт.

21

NSS

NOT SOLD SEPARAT

INSERT - exhaust valve seat (Order ref. 26)

4шт.

22

A21462

SENDER UNIT

SENDER - heat gauge

4шт.

23

A36585

CYLINDER HEAD GASKET

-, Serial Range: head-block

1шт.

24

G11861

GUIDE

S intake valve (Set of 4)

1шт.

25

G11946

GUIDE

S - exhaust valve (Set of 4)

1шт.

26

A43048

KIT

INSERTS - exhaust valve seat (Set of 4)

1шт.

27

321-1827

DECAL - engine data

1шт.

Выбрано товаров: 23