Запчасти Case 580B (037A) - ACCELERATOR PEDAL AND LINKAGE, (188) DIESEL ENGINE (03) - FUEL SYSTEM

Схема запчастей Case 580B - (037A) - ACCELERATOR PEDAL AND LINKAGE, (188) DIESEL ENGINE (03) - FUEL SYSTEM
5
9
11
6
13
1
14
3
8
9
4
8
2
14
7
7
7
7
10
12
FIT
1:1
100%

Артикул

Название

Примечание

Количество

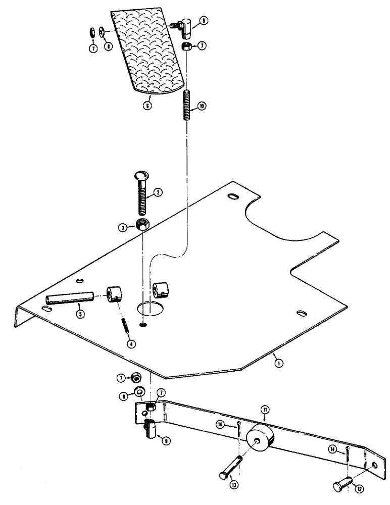
1

D55023

PLATE ASSY.

PLATE - floor, R.H. front (Replaces D49715)

1шт.

2

75-640

SCREW,3/8" - 16 x 2 1/2"

- machine, round head (3/8" -16 N.C. x 2-1/2")

1шт.

3

25-106

NUT,3/8"-16, G5

- hex. (3/8"-16 N.C.)

1шт.

4

135-737

GROOVED PIN,5/32" x 1", Type E

PIN, GROOVED, , Shaft 5/32" x 1", Type E

1шт.

5

R17364

SHAFT

- pedal pivot (Replaced 71044)

1шт.

6

D49700

PEDAL

- foot accelerator

1шт.

7

25-115

NUT,5/16"-24, G5

- hex (5/16"-24 NF)

4шт.

8

92-5

LOCK WASHER,5/16"

med sect. 5/16"

2шт.

9

A19105

BALL JOINT

- accelerator stud

2шт.

10

D50720

STUD

- accelerator pedal

1шт.

11

D50719

DRAG LINK

LINK - accelerator control

1шт.

12

141-4

CLEVIS PIN,3/8" x 1.060"

PIN, CLEVIS, , Throttle link 3/8" x 1.060"

1шт.

13

D50715

AXLE PIN

PIN - special, link support

1шт.

14

132-26

COTTER PIN

PIN - Split (Cotter), 3/32" x 3/4"

2шт.

Выбрано товаров: 14