Запчасти Case 580B (152) - BRAKE PEDALS AND LINKAGE (07) - BRAKES

Схема запчастей Case 580B - (152) - BRAKE PEDALS AND LINKAGE (07) - BRAKES
21
35
26
16
7
25
42
3
25
25
46
24
8
41
52
5
45
28
47
16
20
23
15
44
34
6
36
43
48
10
18
24
29
3
16
26
37
15
16
2
19
39
15
51
15
27
4
17
25
38
34
24
35
24
40
10
22
50
38
9
1
49
FIT
1:1
100%

Артикул

Название

Примечание

Количество

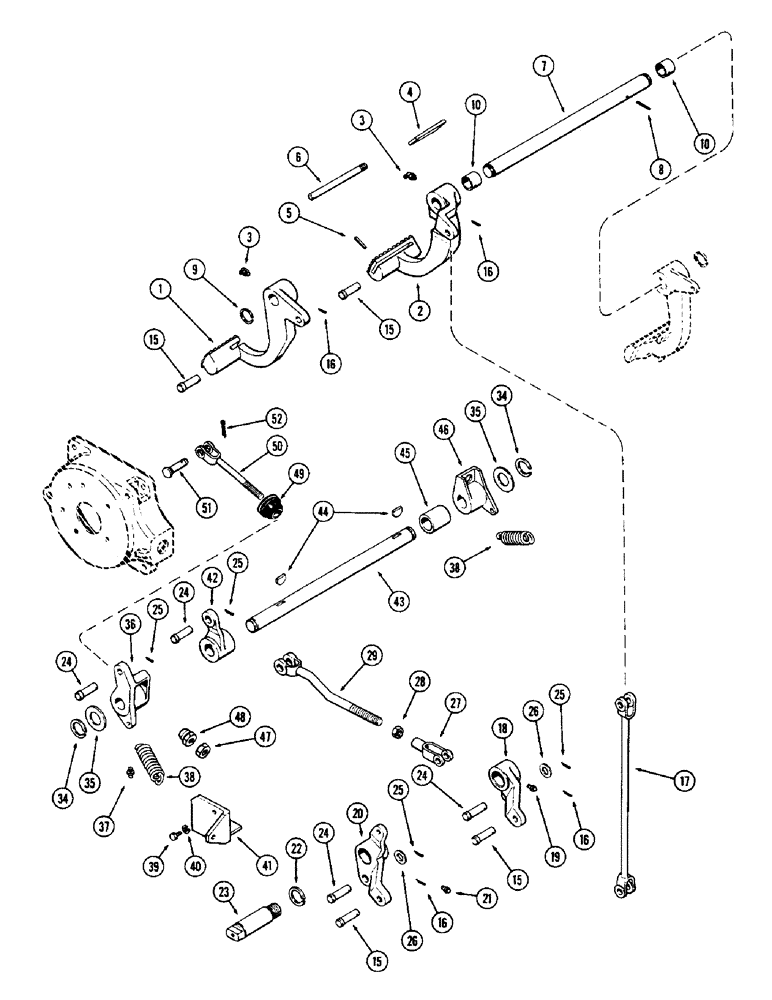
1

A39422

SHIFTER ROLLER

PEDAL - brake, R.H.

1шт.

2

A39423

PEDAL - brake, L.H.

1шт.

3

219-55

LUBE NIPPLE,90 Degree Elbow, 1/8" - 27 NPTF

NIPPLE, LUBE, 90º, 1/8" NPT x .84" lg

2шт.

4

A37704

LOCK - brake pedal (L.H. pedal)

1шт.

5

138-155

LOCK PIN,5/16" x 1 1/4", Slotted

PIN, (Lock to L.H. pedal) 5/16" x 1 1/4", Slotted

1шт.

6

A37745

STUD

- brake pedal stop

1шт.

7

A37701

SHAFT

- brake pedal & emergency clutch

1шт.

8

138-65

LOCK PIN,1/8" x 1 1/2", Slotted

PIN, , Brake pedal shaft to strg. support 1/8" x 1 1/2", Slotted

1шт.

9

A37235

SNAP RING,#100, .941", Ext

RING - snap, brake pedal to shaft

1шт.

10

A37530

BUSHING

- brake pedal cross shaft

2шт.

15

141-6

CLEVIS PIN,1/2" x 1.360"

PIN - clevis (1/2") (Upper brake rod)

4шт.

16

132-48

COTTER PIN,1/8" x 1"

Pin, Split (Cotter), , Clevis pin 1/8" x 1"

4шт.

17

A39424

ROD - brake, upper

2шт.

18

A39427

LEVER - pivot, brake rod (L.H.)

1шт.

19

219-1

LUBE NIPPLE,1/8" - 27 NPTF

FITTING - lube (1/8" P.T. x 180 degrees) (L.H. lever)

1шт.

20

A39840

LEVER - pivot, brake rod (R.H.) (Replaced A39426)

1шт.

21

219-55

LUBE NIPPLE,90 Degree Elbow, 1/8" - 27 NPTF

NIPPLE, LUBE, (RH lever) 90º, 1/8" NPT x .84" lg

1шт.

22

A37237

TEE

SNAP RING - brake rod lever pivot shaft

1шт.

23

A37491

SHAFT

- brake rod lever pivot

1шт.

24

141-7

CLEVIS PIN,5/8" x 1.610"

PIN - clevis (5/8") (Lower brake rod)

4шт.

25

132-49

COTTER PIN,1/8" x 1 1/8"

Pin, Split (Cotter), 1/8" x 1 1/8"

4шт.

26

A7585

WASHER - lower brake rod to pivot lever

2шт.

27

213-7

YOKE - (5/8" N.F.) (Adjustable rod end)

2шт.

28

86637932

JAM NUT,Jam, 5/8"-18, G5

NUT - (5/8" N.F. hex. jam)

2шт.

29

A39425

ROD - brake, lower

2шт.

34

F62093

RING, SNAP

SNAP RING - brake cross shaft

2шт.

35

B18145

WASHER

- brake cross shaft

2шт.

36

A39428

LEVER - cross shaft, right brake (Outside)

1шт.

37

219-1

LUBE NIPPLE,1/8" - 27 NPTF

FITTING - lube (1/8" P.T. x 180 degrees) (R.H. outside lever)

1шт.

38

G10848

SPRING

- return, brake

2шт.

39

13-616

BOLT,Hex, 3/8" - 16 x 1", Gr 5, Full Thd

Bracket to trans. case Hex, 3/8"-16 x 1", G5, Full Thd

2шт.

40

92-6

LOCK WASHER,3/8"

2шт.

41

A39863

BRACKET

- brake spring anchor (R.H.) (Replaced A39530)

1шт.

42

A39429

LEVER - cross shaft, right brake (Inside)

1шт.

43

G10708

SHAFT

- cross, brake

1шт.

44

126-124

WOODRUFF KEY,#15, 1/4" x 1", HT

2шт.

45

G16783

SPACER

- brake cross shaft, L.H. lever

1шт.

46

G1057

LEVER

- cross shaft, left brake

1шт.

47

25-157

JAM NUT,Jam, 7/16"-20, G5

- (7/16" N.F. hex., jam)

2шт.

48

G10709

NUT

- adjusting

2шт.

49

G10943

DUST CAP

CAP - dust

2шт.

50

G46351

ROD

- brake pull

2шт.

51

141-5

CLEVIS PIN,7/16" x 1.190"

PIN - yoke end (7/16")

2шт.

52

132-26

COTTER PIN

Pin, Split (Cotter), 3/32" x 3/4"

2шт.

Выбрано товаров: 44