Запчасти Case 580B (172) - SEAT POST ASSEMBLY (09) - CHASSIS/ATTACHMENTS

Схема запчастей Case 580B - (172) - SEAT POST ASSEMBLY (09) - CHASSIS/ATTACHMENTS
7
6
4
24
2
15
19
1
10
22
23
13
17
21
14
18
16
12
20
11
8
5
FIT
1:1
100%

Артикул

Название

Примечание

Количество

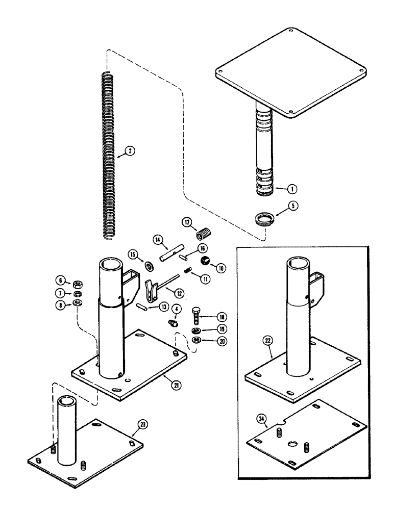
1

D49781

POST

- seat positioning

1шт.

2

D49775

SPRING

- lift, seat

1шт.

4

219-1

LUBE NIPPLE,1/8" - 27 NPTF

FITTING - grease, straight (1/8" NPT)

1шт.

5

D49776

SNAP RING,#187, 2.008", Int, Spiral

- spring retaining

1шт.

6

25-106

NUT,3/8"-16, G5

- hex. (3/8" - 16 N.C.)

2шт.

7

92-6

LOCK WASHER,3/8"

med. sect. 3/8"

2шт.

8

195-25

WASHER,3/8"

- plain () 3/8"

2шт.

10

D38643

KNOB

- lock lever

1шт.

11

D38673

RING

- tolerance, knob

1шт.

12

D38258

LOCK

LEVER - lock, post

1шт.

13

138-137

LOCK PIN,1/4" x 1 3/8", Slotted

PIN, 1/4" x 1 3/8", Slotted

1шт.

14

D38261

PIN

- seat lock

1шт.

15

D49941

SPRING WASHER

- lock pin

1шт.

16

138-94

LOCK PIN,3/16" x 7/8", Slotted

PIN, 3/16" x 7/8", Slotted

1шт.

17

D49774

SPRING

- lock pin

1шт.

18

26-626

BOLT,Hex, 3/8" - 16 x 1-5/8", Gr 8

- (3/8 x 1-5/8" N.C. hex.)

4шт.

19

92-6

LOCK WASHER,3/8"

4шт.

20

A63995

WASHER,10.8mm ID x 19.66mm OD x 0.86mm Thk

- special

4шт.

21

D65241

POST

& BASE - seat (Repl. D49780 & D61054)

1шт.

22

D49780

BASE

POST & BASE - seat (Order D65241)

1шт.

23

D61055

PLATE - spacer, seat base (Replaces D54443)

1шт.

24

D54443

PLATE - spacer, seat base (Order D61055)

1шт.

Выбрано товаров: 22