Запчасти Case 33S (006) - BACKHOE MOUNTING PARTS AND COUNTERWEIGHT

Схема запчастей Case 33S - (006) - BACKHOE MOUNTING PARTS AND COUNTERWEIGHT
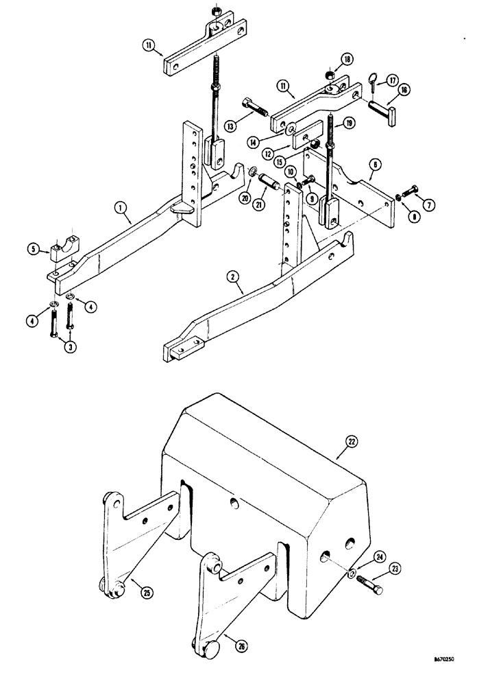
13
2
26
12
25
1
16
11
5
14
21
18
4
24
17
11
3
4
23
20
8
22
6
9
15
19
10
7
FIT
1:1
100%

Артикул

Название

Примечание

Количество

1

D37316

ARM support, lower, R.H., backhoe mounting parts

1шт.

2

D37317

ARM support, lower, L.H., backhoe mounting parts

1шт.

3

13-1280

BOLT,Hex, 3/4" - 10 x 5", Gr 5

Backhoe mounting parts

4шт.

4

D34666

WASHER,33.34mm ID x 63.5mm OD x 2.38mm Thk

SPECIAL backhoe mounting parts

4шт.

5

D39511

CLAMP

SHAFT pivot, backhoe mounting parts

2шт.

6

D37298

PLATE

CENTER lower support arm, R.H. to L.H., backhoe mounting parts

1шт.

7

113-645

X

HHCS 5/8" - 11 NC x 2-1/2", backhoe mounting parts

2шт.

8

A35147

WASHER

SPECIAL, backhoe mounting parts

2шт.

9

113-610

X

HHCS 5/8" - 11 NC x 2", backhoe mounting parts

10шт.

10

A35147

WASHER

SPECIAL, backhoe mounting parts

10шт.

11

D37305

SUPPORT

ARM upper, backhoe mounting parts

2шт.

12

D38911

PLATE ASSY.

REINFORCEMENT, backhoe mounting parts

2шт.

13

13-2068

BOLT,Hex, 1-1/4" - 7 x 4-1/4", Gr 5

Backhoe mounting parts

2шт.

14

D36434

WASHER

PLAIN, backhoe mounting parts

2шт.

15

230-41120

LOCK NUT,1 1/4"-7, GA

HEX lock, 1-1/4" - 7 NC, backhoe mounting parts

2шт.

16

D38709

PIN

SPARE PART ANCHOR upper support arm to backhoe mounting frame, backhoe mounting parts

2шт.

17

D33805

PIN

KLIK retaining, backhoe mounting parts

2шт.

18

25-1116

NUT,1"-14, G5

HEX 1" - 14 NF, backhoe mounting parts

4шт.

19

D37097

ROD

TENSION upper to lower support arm, backhoe mounting parts

2шт.

20

D26918

SNAP RING,#125, Ext

backhoe mounting parts #125, Ext

4шт.

21

D33816

PIN

MOUNTING rod to lower support arm, backhoe mounting parts

2шт.

22

D38567

COUNTERWEIGHT rear, 2500 Ibs

1шт.

23

13-1680

CAPSCREW,Hex, 1" - 8 x 5", Gr 5

BOLT, , Counterweight Hex, 1"-8 x 5", G5

4шт.

24

195-53

WASHER,1" x 2" x .134"

PLAIN 1", counterweight

4шт.

25

D38885

SPARE PART COUNTERWEIGHT mounting, L.H.

1шт.

26

D38886

SPARE PART COUNTERWEIGHT mounting, R.H.

1шт.

Выбрано товаров: 26