Запчасти Case 34 (16) - BACKHOE BUCKETS (OPTIONAL TYPES), HIGH CAPACITY TRENCHING BUCKETS (MACHINERY ITEM)

Схема запчастей Case 34 - (16) - BACKHOE BUCKETS (OPTIONAL TYPES), HIGH CAPACITY TRENCHING BUCKETS (MACHINERY ITEM)
FIT
1:1
100%

Артикул

Название

Примечание

Количество

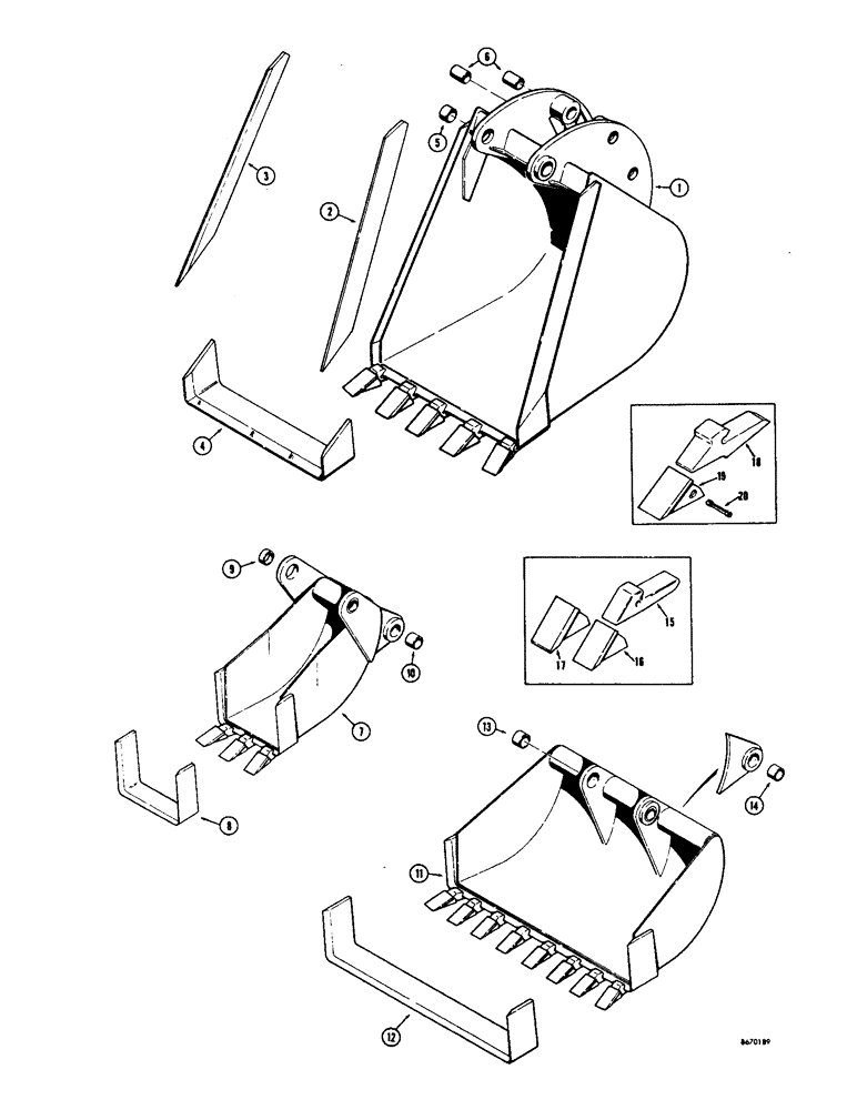
1

D41569

BUCKET - backhoe, trenching (24 inch)

1шт.

2

D41675

BLADE

- cutting, R.H. side

1шт.

3

D41674

BLADE - cutting, L.H. side

1шт.

4

D41673

EDGE, CUTTING

BLADE - cutting, center

1шт.

5

D37495

BUSHING,44.76mm ID x 57.15mm OD x 31.75mm L

- bucket, at dipper arm

2шт.

6

D30929

BUSHING,38.33mm ID x 47.63mm OD x 38.1mm L

- bucket, bucket link pin holes

4шт.

1

D41570

BUCKET - backhoe, trenching (30 inch)

1шт.

2

D41675

BLADE

- cutting, R.H. side

1шт.

3

D41674

BLADE - cutting, L.H. side

1шт.

4

D41870

EDGE, CUTTING

BLADE - cutting, center

1шт.

5

D37495

BUSHING,44.76mm ID x 57.15mm OD x 31.75mm L

- bucket, at dipper arm

2шт.

6

D30929

BUSHING,38.33mm ID x 47.63mm OD x 38.1mm L

- bucket, bucket link pin holes

4шт.

7

D41547

BUCKET

- backhoe, bellhole (12 inch), buckets (machinery item)

1шт.

8

D37490

KNIFE

BLADE - cutting, bellhole buckets (machinery item)

1шт.

9

D40243

BUSHING,44.68mm ID x 57.15mm OD x 19.05mm L

- bucket, at dipper arm, bellhole (machinery item)

2шт.

10

D30933

BUSHING,38.41mm ID x 47.63mm OD x 31.75mm L

-link pin hole, bellhole buckets (machinery item)

2шт.

7

D41548

BUCKET

- backhoe, (16 inch), bellhole buckets (machinery item)

1шт.

8

D37518

EDGE, CUTTING

BLADE - cutting, bellhole buckets (machinery item)

1шт.

9

D37495

BUSHING,44.76mm ID x 57.15mm OD x 31.75mm L

- at dipper arm, bellhole buckets (machinery item)

2шт.

10

D30933

BUSHING,38.41mm ID x 47.63mm OD x 31.75mm L

- t link pin hole, bellhole buckets (machinery item)

2шт.

7

D41549

BUCKET

- backhoe,(30 inch), bellhole buckets (machinery item)

1шт.

8

D37515

EDGE

BLADE - cutting, bellhole buckets (machinery item)

1шт.

9

D37495

BUSHING,44.76mm ID x 57.15mm OD x 31.75mm L

- at dipper arm, bellhole buckets (machinery item)

2шт.

10

D30933

BUSHING,38.41mm ID x 47.63mm OD x 31.75mm L

- ink pin hole, bellhole buckets (machinery item)

2шт.

11

D41550

BUCKET

- combination bellhole and graveyard (36 inch) (machinery item)

1шт.

12

NLS

NO LONGER SERVICED

BLADE - cutting, combination bellhole & graveyard (machinery item)

1шт.

13

D37495

BUSHING,44.76mm ID x 57.15mm OD x 31.75mm L

- bucket, at dipper arm, combination bellhole & graveyard (machinery item)

2шт.

14

D30933

BUSHING,38.41mm ID x 47.63mm OD x 31.75mm L

- link pin hole, combination bellhole & graveyard (machinery item)

2шт.

15

D26368

SUPPORT

SHANK - tooth, combination bellhole & graveyard (machinery item)

1шт.

16

D27748

TOOTH

POINT - tooth (Standard), combination bellhole & graveyard (machinery item)

1шт.

17

D36720

TOOTH

POINT - tooth, service option (Heavy duty), combination bellhole & graveyard (machinery item)

1шт.

D41659

TOOTH

ASSEMBLY -bucket, combination bellhole & graveyard (machinery item)

1шт.

18

NSS

NOT SOLD SEPARAT

SHANK - tooth, combination bellhole & graveyard (machinery item)

1шт.

19

D39093

TOOTH

POINT - tooth, combination bellhole & graveyard (machinery item)

1шт.

20

D39094

BUCKET TOOTH KEY

FLEX PIN - point, combination bellhole & graveyard (machinery item)

1шт.

Выбрано товаров: 35