Запчасти Case 34 (116) - BACKHOE BUCKETS (OPTIONAL TYPES)

Схема запчастей Case 34 - (116) - BACKHOE BUCKETS (OPTIONAL TYPES)
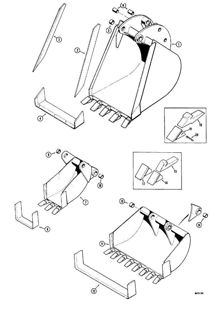
2
3
4
20
7
1
12
14
17
13
6
5
18
11
8
19
16
9
15
10
FIT
1:1
100%

Артикул

Название

Примечание

Количество

1

D41569

BUCKET backhoe, trenching, 24 inch, high capacity, machinery item

1шт.

2

D41675

BLADE

CUTTING, R.H. side, high capacity trenching buckets, machinery item

1шт.

3

D41674

SPARE PART CUTTING, L.H. side, high capacity trenching buckets, machinery item

1шт.

4

D41673

EDGE, CUTTING

EDGE, center, high capacity, trenching buckets, machinery item

1шт.

5

D37495

BUSHING,44.76mm ID x 57.15mm OD x 31.75mm L

BUCKETat dipper arm, high capacity, trenching, machinery item

2шт.

6

D30929

BUSHING,38.33mm ID x 47.63mm OD x 38.1mm L

BUCKET bucket link pin holes, high capacity, trenching, machinery item

4шт.

1

D41570

BUCKET backhoe, trenching, 30 inch, high capacity, machinery item

1шт.

2

D41675

BLADE

CUTTING, R.H. side, high capacity, trenching buckets, machinery item

1шт.

3

D41674

SPARE PART CUTTING, L.H. side, high capacity, trenching buckets, machinery item

1шт.

4

D41870

EDGE, CUTTING

BLADE center, high capacity, trenching buckets, machinery item

1шт.

5

D37495

BUSHING,44.76mm ID x 57.15mm OD x 31.75mm L

BUCKET at dipper arm, high capacity, trenching, machinery item

2шт.

6

D30929

BUSHING,38.33mm ID x 47.63mm OD x 38.1mm L

BUCKET link pin holes, high capacity, treching, machinery item

4шт.

7

D41547

BUCKET

SPARE PART BACKHOE bellhole, 12 men, machinery item

1шт.

8

D37490

KNIFE

BLADE cutting, bellhole buckets, machinery item

1шт.

9

D40243

BUSHING,44.68mm ID x 57.15mm OD x 19.05mm L

BUCKET at dipper arm, bellhole buckets, machinery item

2шт.

10

D30933

BUSHING,38.41mm ID x 47.63mm OD x 31.75mm L

BUCKET link pin hole, bellhole, machinery item

2шт.

7

D41548

BUCKET

SPARE PART BACKHOE bellhole, 16 inch, machinery item

1шт.

8

D37518

EDGE, CUTTING

BLADE, bellhole buckets, machinery item

1шт.

9

D37495

BUSHING,44.76mm ID x 57.15mm OD x 31.75mm L

BUCKETat dipper arm, bellhole, machinery item

2шт.

10

D30933

BUSHING,38.41mm ID x 47.63mm OD x 31.75mm L

BUCKET link pin hole, bellhole, machinery item

2шт.

7

D41549

BUCKET

SPARE PART BACKHOE bellhole, 30 inch, machinery item

1шт.

8

D37515

EDGE

BLADE cutting, bellehole buckets, machinery item

1шт.

9

D37495

BUSHING,44.76mm ID x 57.15mm OD x 31.75mm L

BUCKET at dipper arm, bellehole, machinery item

2шт.

10

D30933

BUSHING,38.41mm ID x 47.63mm OD x 31.75mm L

BUCKET link pin hole, bellehole, machinery item

2шт.

11

D41550

BUCKET

BACKHOE combination bellhole and graveyard, 36 inch, machinery item

1шт.

12

NLS

NO LONGER SERVICED

BLADE cutting, combination bellhole and graveyard, machinery item

1шт.

13

D37495

BUSHING,44.76mm ID x 57.15mm OD x 31.75mm L

BUCKET at dipper armcombination bellhole and graveyard, machinery item

2шт.

14

D30933

BUSHING,38.41mm ID x 47.63mm OD x 31.75mm L

BUCKET link pin hole, combination bellhole and graveyard bucket, machinery item

2шт.

15

D26368

SUPPORT

SHANK tooth, bucket teeth, standard on all buckets except D41569 and D41570

1шт.

16

D27748

TOOTH

POINT standard on all buckets except D41569 and D41570, bucket teeth

1шт.

17

D36720

TOOTH

POINT service option, heavy duty, bucket teeth , standard of all buckets except D41569 and D41570

1шт.

L43266

TOOTH

ASSEMBLY backhoe bucket, teeth, standard on a D41569 and D41570

1шт.

18

NSS

NOT SOLD SEPARAT

SHANK tooth, bucket teeth, standard on D41569 and D41570 buckets

1шт.

19

D39093

TOOTH

POINT, bucket teeth, standard on D41569 and D41570 buckets

1шт.

20

D39094

BUCKET TOOTH KEY

PIN flex, point, bucket teeth, standard on D41569 and D41570 buckets

1шт.

Выбрано товаров: 35