Запчасти Case 34 (122) - INDIVIDUAL LEVER BACKHOE CONTROL (FOOT SWING) USED ON BACKHOE SERIAL NO. 1022951 AND AFTER

Схема запчастей Case 34 - (122) - INDIVIDUAL LEVER BACKHOE CONTROL (FOOT SWING) USED ON BACKHOE SERIAL NO. 1022951 AND AFTER
23
41
18
50
5
9
32
40
1
13
19
15
27
48
34
19
36
44
12
46
9
31
28
47
45
44
24
39
17
43
29
7
22
52
35
53
20
7
5
21
25
35
36
37
6
2
38
29
4
11
49
10
51
29
14
6
54
10
26
3
33
30
16
8
42
50
FIT
1:1
100%

Артикул

Название

Примечание

Количество

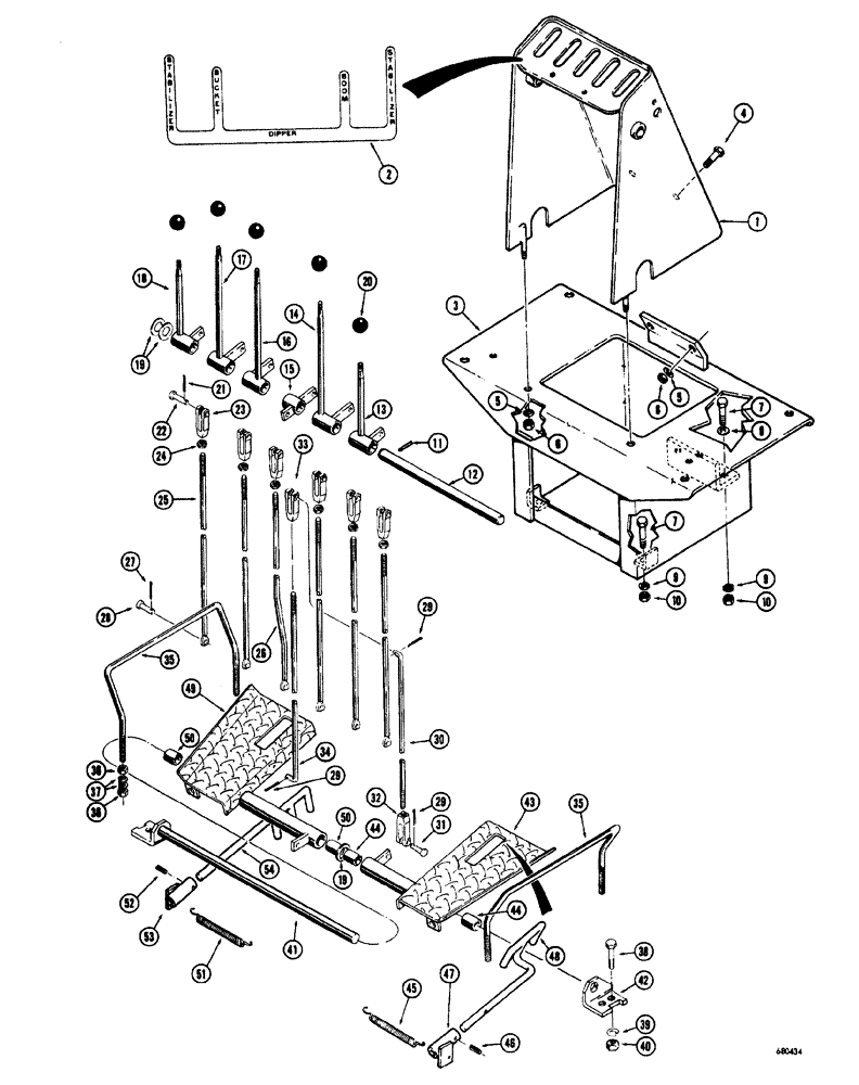
1

D38311

BOOM

CONSOLE backhoe control, see Figure 128 for swing down seat arrangement and taillight

1шт.

2

321-921

DECAL

CONSOLE control

1шт.

3

D47255

SPARE PART TOWER backhoe control, 850 only

1шт.

D47254

SPARE PART TOWER backhoe control, 1150 only

1шт.

4

13-620

BOLT,Hex, 3/8" - 16 x 1-1/4", Gr 5, Full Thd

2шт.

5

92-6

LOCK WASHER,3/8"

4шт.

6

25-106

NUT,3/8"-16, G5

HEX 3/8" - 16 NC

4шт.

7

13-632

BOLT,Hex, 3/8" - 16 x 2", Gr 5

4шт.

8

195-25

WASHER,3/8"

2шт.

9

92-6

LOCK WASHER,3/8"

4шт.

10

25-106

NUT,3/8"-16, G5

HEX 3/8" - 16 NC

4шт.

11

138-98

LOCK PIN,3/16" x 1 1/4", Slotted

1шт.

12

D30817

SHAFT

LEVERS control

1шт.

13

D38319

SPARE PART LEVER control, R.H. stabilizer

1шт.

14

D32642

HANDLE

LEVER control, boom

1шт.

15

D38320

LEVER

PIVOT swing

1шт.

16

D32641

HANDLE

LEVER control, dipper

1шт.

17

D32640

HANDLE

LEVER control, bucket

1шт.

18

D38315

X

LEVER control, L.H. stabilizer

1шт.

19

195-2097

WASHER,15/16" x 1 3/4" x .083"

FLAT steel, 15/16"

3шт.

20

70213

KNOB

LEVER control

5шт.

21

132-25

COTTER PIN,3/32" x 5/8"

6шт.

22

141-4

CLEVIS PIN,3/8" x 1.060"

Mounting yoke

6шт.

23

213-4

ADJUSTABLE CLEVIS,3/8"-24 x 2 1/2"

YOKE connecting rod

6шт.

24

25-156

JAM NUT,Jam, 3/8"-24, G5

HEX jam, 3/8" - 24 NF

6шт.

25

D42585

ROD

STRAIGHT connecting, R.H. and L.H. stabilizer, boom, bucket and swing control, 850 only

5шт.

D42586

ROD

STRAIGHT connecting, R.H. and L.H. stabilizer, boom, bucket and swing control, 1150 only

5шт.

26

D42584

ROD

BENT dipper control, 850 only

1шт.

D42587

ROD

BENT dipper control, 1150 only

1шт.

27

132-25

COTTER PIN,3/32" x 5/8"

6шт.

28

141-3

CLEVIS PIN,5/16" x .940"

Mounting yoke

6шт.

29

132-25

COTTER PIN,3/32" x 5/8"

3шт.

30

D21762

ROD

ROD "L" bend, connecting, R.H. swing control

1шт.

31

141-4

CLEVIS PIN,3/8" x 1.060"

Mounting yoke

1шт.

32

213-4

ADJUSTABLE CLEVIS,3/8"-24 x 2 1/2"

YOKE connecting rod

1шт.

33

D37600

YOKE

UNIVERSAL JOINT YOKE ROD connecting

1шт.

34

D30819

ROD

"L" bend, connecting, L.H. swing control

1шт.

35

D38562

SPARE PART PEDALS swing

2шт.

36

25-108

NUT,1/2"-13, G5

Hex

8шт.

37

92-8

LOCK WASHER,1/2"

8шт.

38

13-636

BOLT,Hex, 3/8" - 16 x 2-1/4", Gr 5

3шт.

39

92-6

LOCK WASHER,3/8"

3шт.

40

25-106

NUT,3/8"-16, G5

HEX 3/8" - 16 NC

3шт.

41

D40859

SHAFT

PEDALS swing

1шт.

42

D42062

BRACKET shaft

1шт.

43

D40866

PEDAL

PEDAL swing, R.H.

1шт.

44

D30706

BUSHING

PEDAL

2шт.

45

A37005

SPRING

PEDAL locking

1шт.

46

138-96

LOCK PIN,3/16" x 1", Slotted

1шт.

47

D40856

SPARE PART STOP pedal, R.H.

1шт.

48

D40864

SPARE PART LOCK swing pedal, R.H.

1шт.

49

D40867

PEDAL

SWING, L.H.

1шт.

50

D30706

BUSHING

PEDAL

2шт.

51

A37005

SPRING

PEDAL locking

1шт.

52

138-96

LOCK PIN,3/16" x 1", Slotted

1шт.

53

D40857

SPARE PART STOP locking pedal, L.H.

1шт.

54

D40865

SPARE PART LOCK swing pedal, L.H.

1шт.

Выбрано товаров: 57