Запчасти Case 34 (098) - BACKHOE MOUNTING PARTS AND COUNTERWEIGHT

Схема запчастей Case 34 - (098) - BACKHOE MOUNTING PARTS AND COUNTERWEIGHT
1
2
16
23
24
26
17
11
9
10
11
25
13
5
20
18
4
19
3
8
12
4
15
14
21
6
7
22
FIT
1:1
100%

Артикул

Название

Примечание

Количество

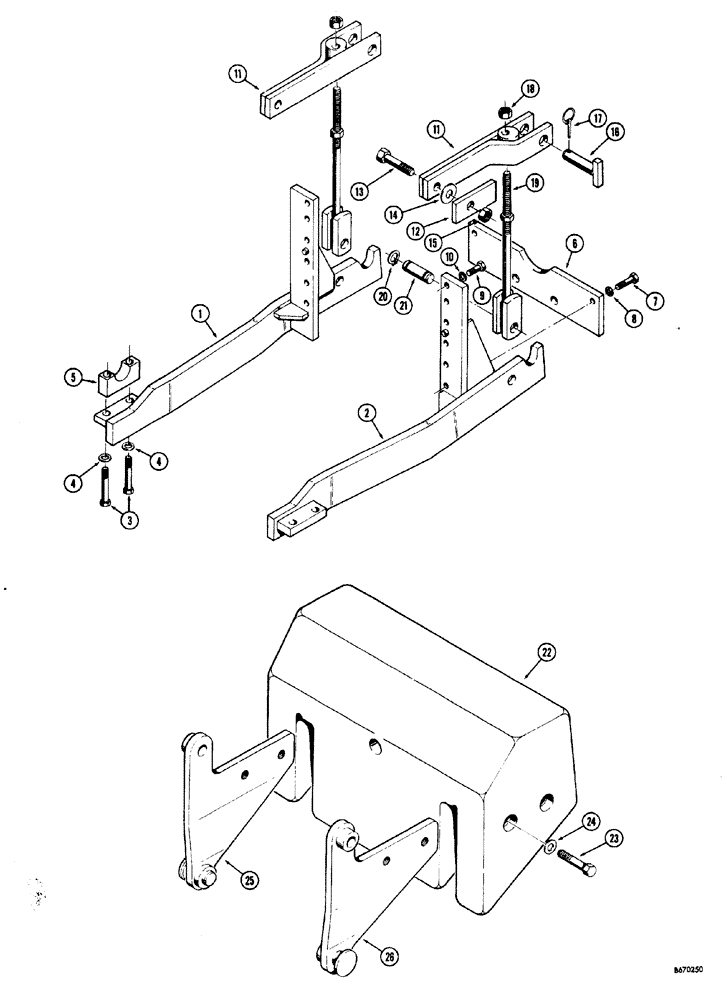
1

D42093

SPARE PART LOWER, R.H., mounting parts

1шт.

2

D42094

SPARE PART LOWER, L.H., mounting parts

1шт.

3

13-1480

BOLT,Hex, 7/8" - 9 x 5", Gr 5

Mounting parts

4шт.

4

D34667

WASHER,23.02mm ID x 38.1mm OD x 3.57mm Thk

SPECIAL mounting parts

4шт.

5

D39511

CLAMP

SHAFT pivot, mounting parts

2шт.

6

D37298

PLATE

CENTER, R.H. to L.H., lower support arm, mounting parts

1шт.

7

113-722

X

HHCS 3/4" - 10 NC x 2-1/2", mounting parts

2шт.

8

D34666

WASHER,33.34mm ID x 63.5mm OD x 2.38mm Thk

SPECIAL mounting parts

2шт.

9

113-734

X

HHCS 3/4" - 10 NC x 2", mounting parts

10шт.

10

D34666

WASHER,33.34mm ID x 63.5mm OD x 2.38mm Thk

SPECIAL mounting parts

10шт.

11

D37305

SUPPORT

ARM upper, mounting parts

2шт.

12

D38911

PLATE ASSY.

REINFORCEMENT mounting parts

2шт.

13

13-2080

BOLT,Hex, 1-1/4" - 7 x 5", Gr 5

Mounting parts

2шт.

14

D36434

WASHER

PLAIN mounting parts

2шт.

15

230-41120

LOCK NUT,1 1/4"-7, GA

HEX lock, 1-1/4" - 7 NC, mounting parts

2шт.

16

D38709

PIN

SPARE PART ANCHOR upper support arm to backhoe mounting frame, parts

2шт.

17

D33805

PIN

KLIK retaining, mounting parts

2шт.

18

25-1116

NUT,1"-14, G5

HEX 1" - 14 NF, mounting parts

4шт.

19

D37097

ROD

TENSION upper to lower support arm, mounting parts

2шт.

20

D26918

SNAP RING,#125, Ext

mounting parts #125, Ext

4шт.

21

D33816

PIN

MOUNTING rod to lower support arm, parts

2шт.

22

D38567

COUNTERWEIGHT rear, 2500 Ibs.

1шт.

23

13-1680

CAPSCREW,Hex, 1" - 8 x 5", Gr 5

BOLT, , Counterweight Hex, 1"-8 x 5", G5

4шт.

24

195-53

WASHER,1" x 2" x .134"

PLAIN 1", counterweight

4шт.

25

D38885

SPARE PART COUNTERWEIGHT mounting, L.H.

1шт.

26

D38886

SPARE PART COUNTERWEIGHT mounting, R.H.

1шт.

Выбрано товаров: 26