Запчасти Case 35 (102) - BACKHOE BUCKETS, SHOVEL BUCKET, DITCHING BUCKET

Схема запчастей Case 35 - (102) - BACKHOE BUCKETS, SHOVEL BUCKET, DITCHING BUCKET
FIT
1:1
100%

Артикул

Название

Примечание

Количество

1

D50682

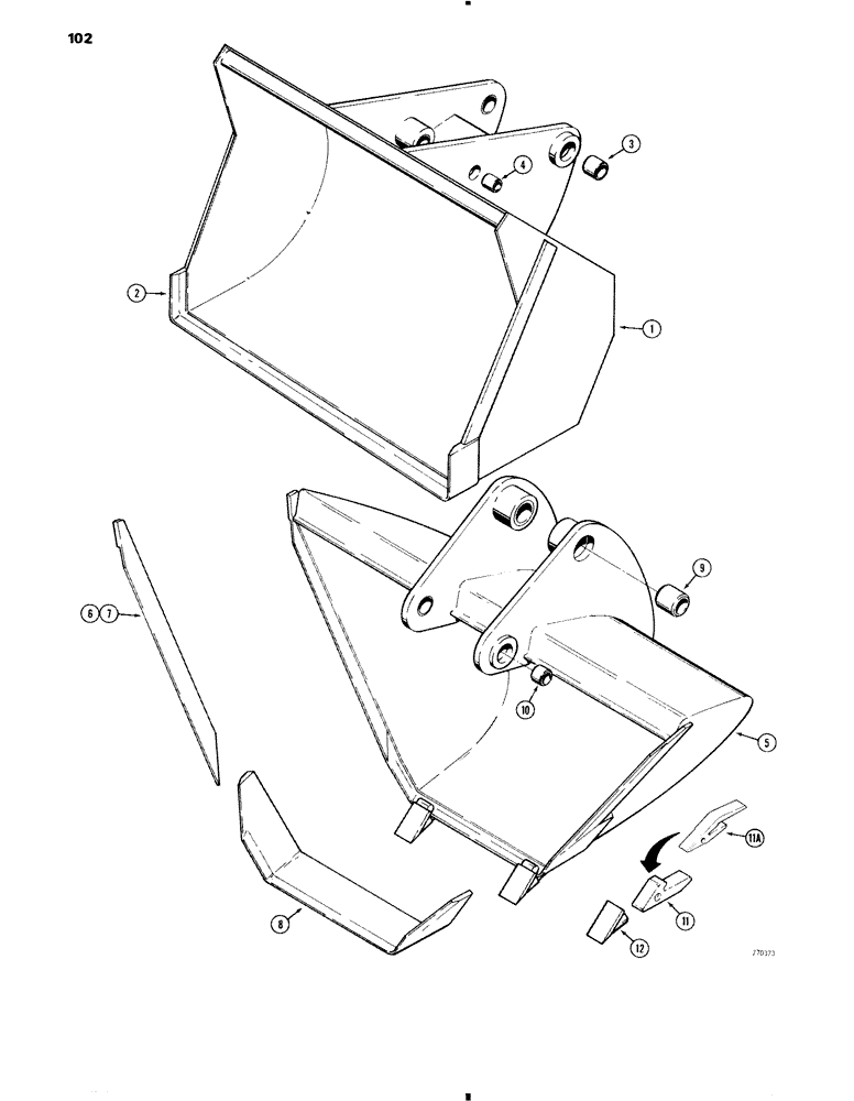
BUCKET - backhoe, shovel, machinery item, see Figure 2 for ordering, Includes: Ref. 2 - 4

1шт.

2

D95074

EDGE

BLADE - cutting, center

1шт.

3

D30929

BUSHING,38.33mm ID x 47.63mm OD x 38.1mm L

- bucket, at bucket link

2шт.

4

D37495

BUSHING,44.76mm ID x 57.15mm OD x 31.75mm L

- bucket, at dipper arm

2шт.

5

E15133

BUCKET

- backhoe, ditching, machinery item, see Figure 2 for ordering, Includes: Ref. 6 - 12

1шт.

6

D43331

EDGE, CUTTING

BLADE - cutting, LH, ditching bucket

1шт.

7

D43332

EDGE, CUTTING

BLADE - cutting, RH, ditching bucket

1шт.

8

D43341

EDGE, CUTTING

BLADE - cutting, center, ditching bucket

1шт.

9

D30929

BUSHING,38.33mm ID x 47.63mm OD x 38.1mm L

- bucket, at bucket link, ditching bucket

2шт.

10

D37495

BUSHING,44.76mm ID x 57.15mm OD x 31.75mm L

- bucket, at dipper arm, ditching bucket

2шт.

11

D26368

SUPPORT

SHANK - tooth, original equipment, ditching bucket

2шт.

11a

D58499

SUPPORT

SHANK - tooth, service option, ditching bucket

2шт.

12

D58576

TOOTH

POINT - tooth, H and L manufactured, 4-7/8" (124 mm) long, ditching bucket

1шт.

12

D58577

TOOTH

POINT - tooth, Fabco manufactured, 4-3/4" (121 mm) long, ditching bucket

1шт.

Выбрано товаров: 14