Запчасти Case 35 (256) - VALVE-LOCKING CONTROL

Схема запчастей Case 35 - (256) - VALVE-LOCKING CONTROL
4
10
7
3
13
11
8
12
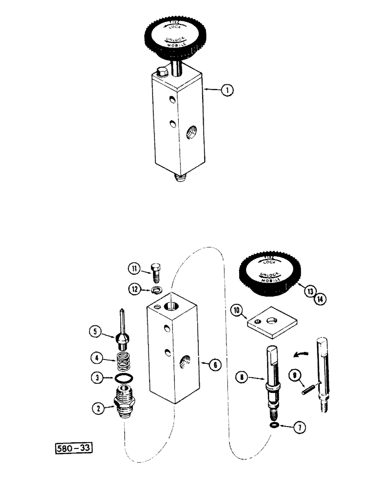
1
5
6
2
9
14
FIT
1:1
100%

Артикул

Название

Примечание

Количество

1

D36662

PISTON

Valve-locking control ass'y

1шт.

2

218-5079

HYD CONNECTOR,1/2" - 20 Male JIC x 9/16" - 18 Male ORB

Connector

1шт.

3

218-5005

O-RING,0.078" Thk x 0.468" ID, -906, Cl 6, 90 Duro

6-1, 90 Duro, .468" ID x .078" Thk

1шт.

4

D36669

SPRING

1шт.

5

D36668

X

Poppet

1шт.

6

NUS-NSS

Body NEG

1шт.

7

A27880

O-RING,0.07" Thk x 0.18" ID, -8, Cl 5, 75 Duro

"O" Ring

1шт.

8

D41746

SHAFT

1шт.

9

138-38

LOCK PIN,3/32" x 9/16", Slotted

PIN, , Si utilise/If 3/32" x 9/16", Slotted

1шт.

10

D36665

RETAINER

Plate

1шт.

11

13-48

BOLT,Hex, 1/4" - 20 x 1/2", Gr 5

1шт.

12

92-4

LOCK WASHER,1/4"

WASHER, LOCK, 1/4"

1шт.

13

D36667

KNOB

1шт.

14

321-907

DECAL

1шт.

Выбрано товаров: 14