Запчасти Case 36 (04) - BACKHOE MOUNTING PARTS AND COUNTERWEIGHT, BACKHOE MOUNTING

Схема запчастей Case 36 - (04) - BACKHOE MOUNTING PARTS AND COUNTERWEIGHT, BACKHOE MOUNTING
FIT
1:1
100%

Артикул

Название

Примечание

Количество

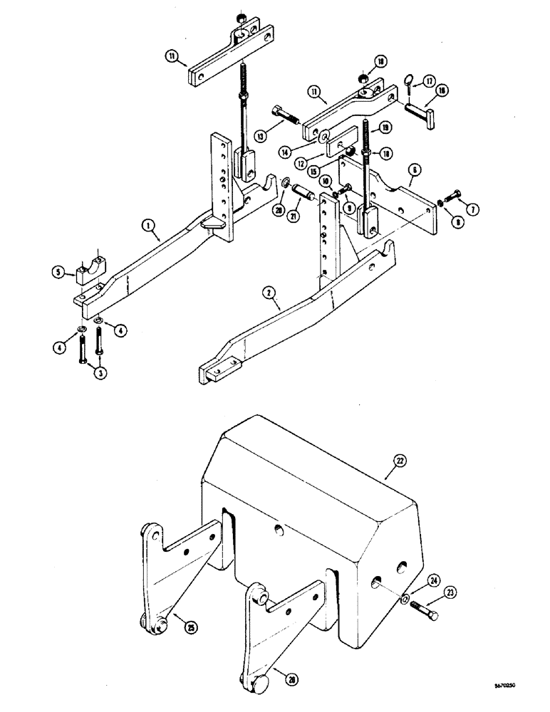
1

D42093

SUPPORT ARM - lower (R.H.)

1шт.

2

D42094

SUPPORT ARM - lower (L.H.)

1шт.

3

13-1480

BOLT,Hex, 7/8" - 9 x 5", Gr 5

4шт.

4

D34667

WASHER,23.02mm ID x 38.1mm OD x 3.57mm Thk

- special

4шт.

5

D39511

CLAMP

- pivot shaft

2шт.

6

D37298

PLATE

- center, R.H. to L.H. lower support arm

1шт.

7

113-722

X

HHCS - 3/4" - 10 NC x 2-1/2"

2шт.

8

D34666

WASHER,33.34mm ID x 63.5mm OD x 2.38mm Thk

- special

2шт.

9

113-734

X

HHCS - 3/4" - 10 NC x 2"

10шт.

10

D34666

WASHER,33.34mm ID x 63.5mm OD x 2.38mm Thk

- special

10шт.

11

D37305

SUPPORT

ARM - upper

2шт.

12

D38911

PLATE ASSY.

PLATE - reinforcement

2шт.

13

13-2080

BOLT,Hex, 1-1/4" - 7 x 5", Gr 5

2шт.

14

D36434

WASHER

- plain

2шт.

15

230-41120

LOCK NUT,1 1/4"-7, GA

NUT - hex., lock (1-1/4" - 7 NC)

2шт.

16

D38709

PIN

- anchor, upper support arm to backhoe mounting frame

2шт.

17

D33805

PIN

KLIK PIN - pin retaining

2шт.

18

25-1116

NUT,1"-14, G5

- hex. (1" - 14 NF)

4шт.

19

D37097

ROD

TENSION ROD - upper to lower support arm

2шт.

20

D26918

SNAP RING,#125, Ext

Ring, Snap, #125, Ext

4шт.

21

D33816

PIN

- mounting rod to lower support arm

2шт.

22

D38567

COUNTERWEIGHT - rear, 2500 lbs.

1шт.

23

13-1680

CAPSCREW,Hex, 1" - 8 x 5", Gr 5

BOLT, , Counterweight Hex, 1"-8 x 5", G5

4шт.

24

195-53

WASHER,1" x 2" x .134"

- plain (1"), counterweight

4шт.

25

D38885

BRACKET - counterweight mounting (L.H.)

1шт.

26

D38886

BRACKET - counterweight mounting (R.H.)

1шт.

Выбрано товаров: 26