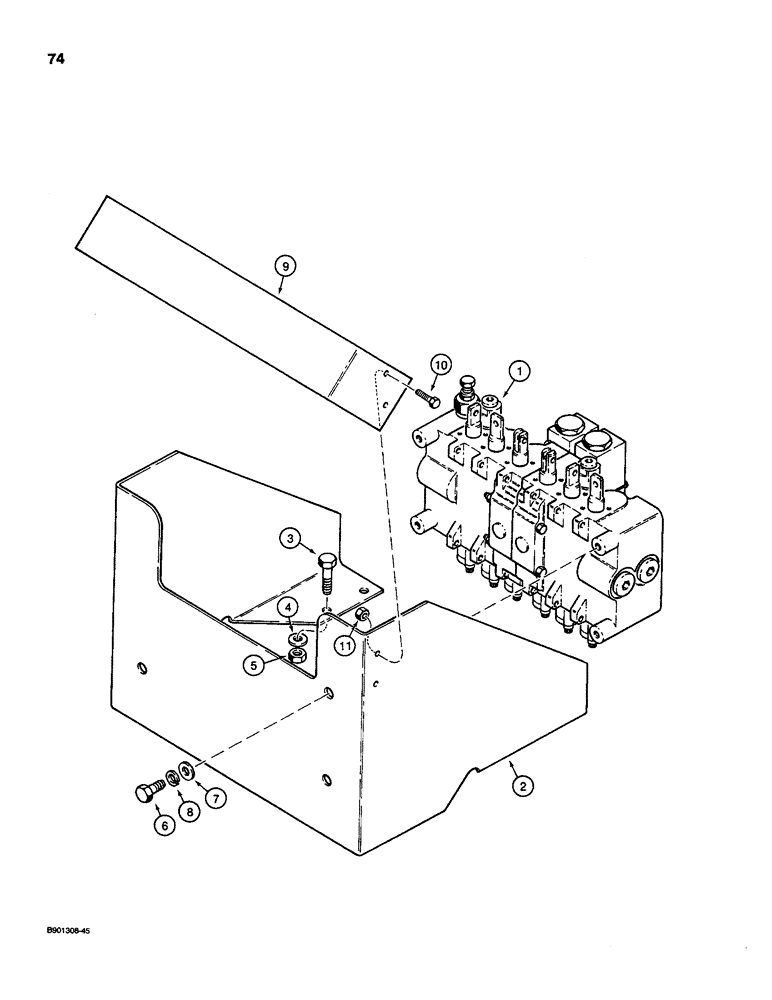
Запчасти Case D100 (8-074) - BACKHOE CONTROL TOWER, USED ON 1835C, 1840, AND 1845C UNI-LOADER W/ DUKE VALVE

Схема запчастей Case D100 - (8-074) - BACKHOE CONTROL TOWER, USED ON 1835C, 1840, AND 1845C UNI-LOADER W/ DUKE VALVE
2
6
9
8
11
5
7
10
3
1
4
FIT
1:1
100%

Артикул

Название

Примечание

Количество

1

H674300

VALVE

ASSEMBLY - control, backhoe, parts list Figures 8-52 - 8-60

1шт.

2

H437850

BRACKET

CONSOLE - valve mounting

1шт.

3

413-620

BOLT,Hex, 3/8" - 16 x 1-1/4", Gr 5

- hex, 3/8 NC x 1-1/4 inch

4шт.

4

196-1

WASHER,13/32" x 13/16" x .089", HDN

- flat, 13/32 x 13/16 x 3/32 inch, hardened

4шт.

5

230-4216

LOCK NUT,3/8"-16, GA

NUT - hex, self-locking, 3/8 inch NC

4шт.

6

114-102

BOLT,Hex, 5/16" - 24 x 3/4", Gr 5

3шт.

7

H426775

WASHER

- flat, hardened

3шт.

8

192-20

LOCK WASHER,Helical Spring, 0.318" ID, CST, ZND

WASHER, LOCK, 5/16"

3шт.

9

H437849

LARGE PLATE

PLATE - decal

1шт.

10

413-412

BOLT,Hex, 1/4" - 20 x 3/4", Gr 5

- hex, 1/4 NC x 3/4 inch

4шт.

11

131-1180

LOCK NUT,1/4"-20, GA

NUT, LOCK, 1/4"-20, GA

4шт.

Выбрано товаров: 11