Запчасти Case SD-70 (08) - SD-70 BACKFILL BLADE

Схема запчастей Case SD-70 - (08) - SD-70 BACKFILL BLADE
FIT
1:1
100%

Артикул

Название

Примечание

Количество

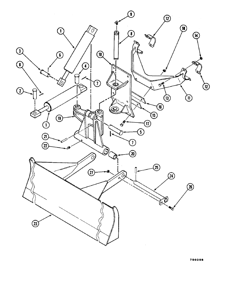
1

H504076

CYLINDER BLOCK

LIFT AND ANGLE CYLINDER ASSEMBLY (See Figure 48)

2шт.

2

H067272

PIN (1 x 3)

1шт.

3

H065011

PIN (1 x 2-5/8)

1шт.

4

H071621

PIN (1-1/8 x 2-5/8)

1шт.

5

H071597

PIN (1-1/8 x 4-5/8)

1шт.

6

132-307

COTTER PIN,1/4" x 1 3/4"

PIN, Split (Cotter), 1/4" x 1 3/4"

2шт.

7

132-313

COTTER PIN,1/4" x 2"

PIN, Split (Cotter), 1/4" x 2"

2шт.

8

H182527

AXLE PIN

PIN - pivot

1шт.

9

219-55

LUBE NIPPLE,90 Degree Elbow, 1/8" - 27 NPTF

NIPPLE, LUBE, 90º, 1/8" NPT x .84" lg

2шт.

10

H638494

BRACKET

- pin

1шт.

11

H638486

FRAME

- axle

1шт.

12

H368308

CLAMP

- axle

2шт.

13

113-209

BOLT,Hex, 3/8" - 16 x 1-1/2", Gr 5

4шт.

14

230-4216

LOCK NUT,3/8"-16, GA

NUT - NC hex C/L (3/8)

4шт.

15

H369470

SHIM,.135" Thk

(10 ga) .135" Thk

1шт.

16

H369488

SHIM

- 12 ga.

1шт.

17

113-421

BOLT,Hex, 1/2" - 13 x 2", Gr 5

2шт.

18

131-1182

LOCK NUT,1/2"-13, GA

NUT - NC hex C/L (1/2)

2шт.

19

H635235

PIVOT

BLADE PIVOT

1шт.

20

H127852

BUSHING

2шт.

21

138-178

LOCK PIN,3/8" x 2 1/4", Slotted

PIN, 3/8" x 2 1/4", Slotted

1шт.

22

219-1

LUBE NIPPLE,1/8" - 27 NPTF

FITTING - grease

1шт.

23

H629923

BLADE

- backfill

1шт.

24

H549006

PIVOT

SHAFT - lift pivot

1шт.

25

138-177

LOCK PIN,3/8" x 2", Slotted

PIN, 3/8" x 2", Slotted

1шт.

26

113-209

BOLT,Hex, 3/8" - 16 x 1-1/2", Gr 5

1шт.

27

230-4216

LOCK NUT,3/8"-16, GA

NUT - NC hex C/L (3/8)

1шт.

Выбрано товаров: 27