Запчасти Case 580C (012) - MUFFLER AND EXHAUST SYSTEM (02) - ENGINE

Схема запчастей Case 580C - (012) - MUFFLER AND EXHAUST SYSTEM (02) - ENGINE
4
5
11
3
9
7a
2a
6
6b
6a
7
10
12
2
8
1
FIT
1:1
100%

Артикул

Название

Примечание

Количество

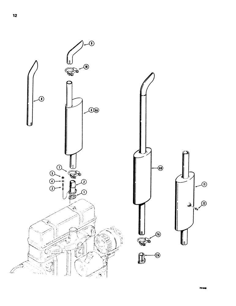
1

G46853

MANIFOLD GASKET

manifold to exhaust pipe

1шт.

2

D73198

OUTLET

PIPE - exhaust, 2-1/2" (64 mm) dia, if used

1шт.

2a

D69366

HOUSING

PIPE - exhaust, 1-7/8" (48 mm) dia, if used

1шт.

3

A59077

STUD

3/8" - 16 NC x 1-13/16"

2шт.

4

195-25

WASHER,3/8"

flat, 3/8"

2шт.

5

131-652

LOCK NUT,3/8"-16, GB

hex, self lock, 3/8" - 16 NC

2шт.

6

A39561

MUFFLER

inlet dia, 2-1/2" (64 mm), if used

1шт.

6a

D55532

MUFFLER

increased noise control, inlet dia 2-1/2" (64 mm), if used

1шт.

6b

D69365

MUFFLER

increased noise control, inlet dia 1-7/8" (48 mm)

1шт.

7

A13240

CLAMP,2-5/8" ID

muffler, used with Refs. 6 and 6A

1шт.

7a

R11500

CLAMP

muffler, used with Ref. 6B

1шт.

8

D70514

PIPE, EXHAUST SYSTEM

EXTENSION - muffler exhaust, if used

1шт.

9

D53101

PIPE

DEFLECTOR - muffler exhaust, if used

1шт.

10

G45410

CLAMP

muffler extension or deflector

1шт.

11

D65392

MUFFLER

spark arresting, inlet dia 2-1/2" (64 mm), Includes: Ref. 12

1шт.

12

217-76

DRAIN PLUG,Sq Hd, 1/4"-18 NPTF, Brass

brass, 1/4" NPT, spark arresting muffler

1шт.

Выбрано товаров: 0