Запчасти Case 580C (364) - PTO SELECTOR VALVE (08) - HYDRAULICS

Схема запчастей Case 580C - (364) - PTO SELECTOR VALVE (08) - HYDRAULICS
8
12
5
2
11
6
3
4
7
9
1
10
FIT
1:1
100%

Артикул

Название

Примечание

Количество

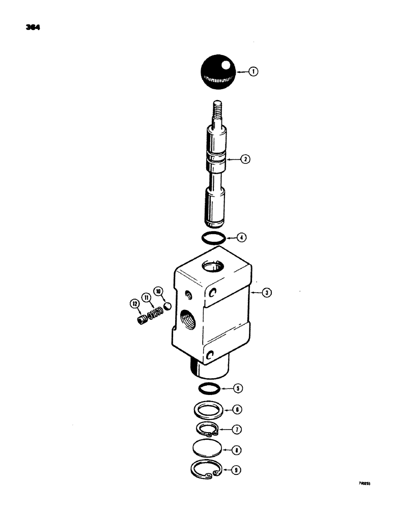
D65378

VALVE

- selector, Includes: Ref. 1 - 12

1шт.

1

D66441

BALL

- handle, not used, see Figure 293

1шт.

2

NSS

NOT SOLD SEPARAT

SPOOL - valve

1шт.

3

NSS

NOT SOLD SEPARAT

BODY - valve

1шт.

4

A7623

O-RING,0.139" Thk x 0.984" ID, -214, Cl 5, 75 Duro

- upper

1шт.

5

A7623

O-RING,0.139" Thk x 0.984" ID, -214, Cl 5, 75 Duro

- lower

1шт.

6

D66438

WASHER

- backup

1шт.

7

D66439

RING - retaining, small

1шт.

8

D66440

COVER ASSY

PLUG - welch

1шт.

9

T28550

SNAP RING,1.50", Int, #150

Ring, Snap, 1.50", Int, #150

1шт.

10

211-9

BALL,5/16" Dia

- steel, 5/16"

1шт.

11

23137

VALVE SPRING

SPRING

1шт.

12

221-1849

PLUG

- hex socket head, 1/8" NPT

1шт.

Выбрано товаров: 13