Запчасти Case 580C (488) - CHASSIS (09) - CHASSIS/ATTACHMENTS

Схема запчастей Case 580C - (488) - CHASSIS (09) - CHASSIS/ATTACHMENTS
2
5
4
11
7
2a
14
14
1
9
8
6
10
13
2b
12
3
FIT
1:1
100%

Артикул

Название

Примечание

Количество

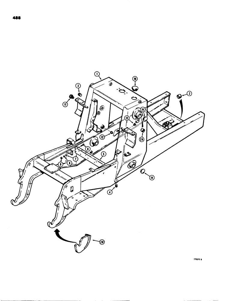
1

D82127

FRAME

CHASSIS - tractor, Includes: Ref. 2 and 2A

1шт.

2

D43940

BUSHING,44.68mm ID x 57.15mm OD x 25.4mm L

- front axle mounting

2шт.

2a

D37443

BUSHING,44.68mm ID x 57.15mm OD x 50.8mm L

- loader lift arm pivot

2шт.

2b

D19331

HOOK

KIT - bracket, rear mounting, includes welding instructions

1шт.

3

221-27

DRAIN PLUG,Sq Soc, 1 1/4"-11 1/2, NTPF

PLUG - hex, socket, 1-1/4" NPT

1шт.

4

D123893

PLUG

- hex, socket, 3/4" NPT

2шт.

5

D66068

BRACKET

- crossmember

1шт.

6

13-820

BOLT,Hex, 1/2" - 13 x 1-1/4", Gr 5, Full Thd

4шт.

7

195-33

WASHER,1/2"

- plain, 1/2"

4шт.

8

92-8

LOCK WASHER,1/2"

4шт.

9

25-108

NUT,1/2"-13, G5

- hex, 1/2" - 13 NC

4шт.

10

205-72

HOLE PLUG BUTTON,3"

PLUG - button, dia 3"

1шт.

11

D63875

PLUG

- indicator, oil level

1шт.

12

221-15

PLUG,Sq Hd, 3/4"-14

- square head, 3/4" NPT, reservoir return ports, used only on drawbar tractors without equipment hydraulics

2шт.

13

353-23

CAP,Cap, 1.355" OD

PLUG - plastic, no. 15, reservoir outlet tubes, used only on drawbar tractors without equipment hydraulics

2шт.

14

353-416

PLUG,Dome, 1.750" hole, Nylon

- button, nylin, 1-3/4", used on models without loader

4шт.

Выбрано товаров: 16