Запчасти Case 580C (508) - EDGINE SIDE PANELS (09) - CHASSIS/ATTACHMENTS

Схема запчастей Case 580C - (508) - EDGINE SIDE PANELS (09) - CHASSIS/ATTACHMENTS
10
17
9
4
11
15
19
26
16
21
14
6
12
1
24
25
3
20
7
2
13
22
9
5
18
23
8
FIT
1:1
100%

Артикул

Название

Примечание

Количество

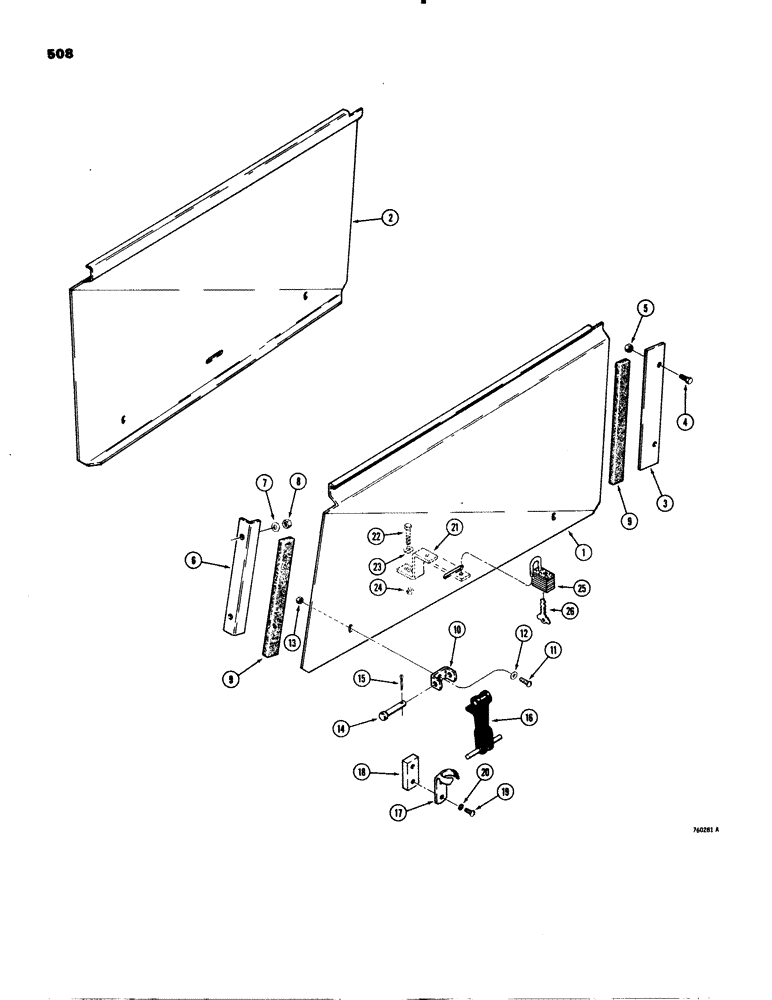
1

D74230

PANEL

- side, engine, RH

1шт.

2

D74231

PANEL

- side, engine, LH

1шт.

3

D69160

STRIP

STRAP - side panel stop, front

2шт.

4

13-516

BOLT,Hex, 5/16" - 18 x 1", Gr 5

4шт.

5

131-651

NUT,5/16"-18, GB

NUT - hex, lock, 5/16" - 18 NC

4шт.

6

D68862

ANGLE

BRACKET - side panel stop, rear

2шт.

7

195-21

WASHER,5/16"

- flat, 5/16"

4шт.

8

131-651

NUT,5/16"-18, GB

NUT - hex, lock, 5/16" - 18 NC

4шт.

9

D95585

BAND

CUSHION - rubber

4шт.

10

L47159

BRACKET

- anchor, hook

4шт.

11

113-118

BOLT,Hex, 5/16" - 18 x 5/8", Gr 5

4шт.

12

195-21

WASHER,5/16"

- plain, 5/16"

4шт.

13

131-651

NUT,5/16"-18, GB

NUT - hex, lock, 5/16" - 18 NC

4шт.

14

141-66

CLEVIS PIN,5/16" x 1 13/16"

PIN - hook mounting

4шт.

15

132-26

COTTER PIN

Pin, Split (Cotter), 3/32" x 3/4"

4шт.

16

L47157

HOOK

- side panel holddown

4шт.

17

L47158

BRACKET

- hook, on some models this bracket is welded to the tractor frame

4шт.

18

L48956

BLOCK

- side panel latch, if used

4шт.

19

182-516

SCREW,Sl Pan Hd, #10 - 24 x 1/2"

- round head, no. 10 - 24 NC x 1/2", if used

8шт.

20

92-3

LOCK WASHER,#10

WASHER, LOCK, , If used #10

8шт.

21

D73867

BRACKET

- for padlock, if used

2шт.

22

13-520

BOLT,Hex, 5/16" - 18 x 1-1/4", Gr 5

- hex, 5/16" - 18 NC x 1-1/4"

2шт.

23

195-21

WASHER,5/16"

- flat, 5/16"

2шт.

24

131-651

NUT,5/16"-18, GB

NUT - hex, lock, 5/16" - 18 NC

2шт.

25

R29556

LOCK

ASSEMBLY - side panel, if used, Includes: Ref. 26

2шт.

R29556 lock - This part now subs to Yale lock (part nbr D93753). Keys for Yale lock are part nbr D93751.

1шт.

26

R29555

KEY

- lock

2шт.

Выбрано товаров: 27