Запчасти Case 580C (146) - DIPPER LIGHT, USED WITH EXTENDABLE DIPPER (04) - ELECTRICAL SYSTEMS

Схема запчастей Case 580C - (146) - DIPPER LIGHT, USED WITH EXTENDABLE DIPPER (04) - ELECTRICAL SYSTEMS
3
7a
24
4
10
18
22
5
3
14
15
25
23
20
1
5
8
12
21
9
7
4
7
6
9
1b
16
19
17
13
1a
11
1c
FIT
1:1
100%

Артикул

Название

Примечание

Количество

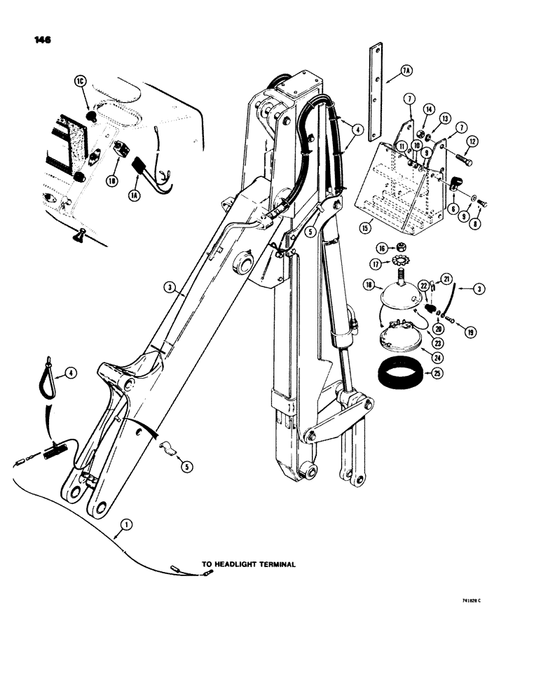
1

D73170

WIRE - harness to wire, models without separate dipper light switch

1шт.

1a

D75761

HARNESS

WIRE - to dipper light switch, if used

1шт.

1b

D74330

SWITCH

- dipper light, if used

1шт.

1c

D95783

KNOB

- dipper light switch

1шт.

2

RESERVED

1шт.

3

D53268

ELECTRICAL WIRE

WIRE - rear harness to dipper light

1шт.

4

L18331

CABLE TIE,375.9mm L, Nylon, Black

STRAP -, Serial Range: wire-hose

8шт.

5

D48071

CLAMP

- wire to boom and dipper

2шт.

6

49859

CLAMP

- wire to light housing

1шт.

7

D66561

LARGE PLATE

PLATE - light mounting, early production type

2шт.

Late production type light mounting plates may be ordered in pairs to replace early production type, but early production type plates should not be used to replace late production type plates.

1шт.

7a

D75730

LARGE PLATE

PLATE - light mounting, late production type

2шт.

Late production type light mounting plates may be ordered in pairs to replace early production type, but early production type plates should not be used to replace late production type plates.

1шт.

8

13-620

BOLT,Hex, 3/8" - 16 x 1-1/4", Gr 5, Full Thd

4шт.

9

195-33

WASHER,1/2"

- flat, 3/8"

8шт.

10

92-6

LOCK WASHER,3/8"

4шт.

11

25-106

NUT,3/8"-16, G5

- hex, 3/8" - 16 NC

4шт.

12

13-832

BOLT,Hex, 1/2" - 13 x 2", Gr 5

4шт.

13

92-8

LOCK WASHER,1/2"

4шт.

14

25-108

NUT,1/2"-13, G5

- hex, 1/2" - 13 NC

4шт.

15

D52591

HOUSING

- dipper light

1шт.

16

131-354

LOCK NUT,1/2"-13, GA

NUT - hex, self lock, 1/2" - 13 NC

1шт.

17

193-87

LOCK WASHER,Ext-Int Tooth, 1/2"

WASHER, LOCK, Ext-Int Tooth, 1/2"

1шт.

D37811

LAMP

LIGHT ASSEMBLY - dipper, Includes: Ref. 18 - 25

1шт.

18

NSS

NOT SOLD SEPARAT

BODY - light

1шт.

19

173-73

SCREW,Sl Rnd Hd, #8 - 32 x 1/4"

- machine, round head, no. 8 - 32 NC x 1/4"

2шт.

20

193-25

LOCK WASHER,Int Tooth, 0.172" ID x 0.332" OD, STL, PLN

WASHER, LOCK, Int Tooth, #8

2шт.

21

10927

SPRING

- light

1шт.

22

B50293

TERMINAL CONNECTOR

- light

1шт.

23

A25262

ELECTRICAL WIRE

WIRE - light

1шт.

24

A42294

SEALED BEAM UNIT

BULB - sealed beam, trade no. 4406

1шт.

25

D31441

RETAINER

- light

1шт.

Выбрано товаров: 32