Запчасти Case 380CK (166) - LOADER SIDE FRAMES, MODELS WITH RIGHT HAND OIL RESERVOIR ONLY (09) - CHASSIS/ATTACHMENTS

Схема запчастей Case 380CK - (166) - LOADER SIDE FRAMES, MODELS WITH RIGHT HAND OIL RESERVOIR ONLY (09) - CHASSIS/ATTACHMENTS
FIT
1:1
100%

Артикул

Название

Примечание

Количество

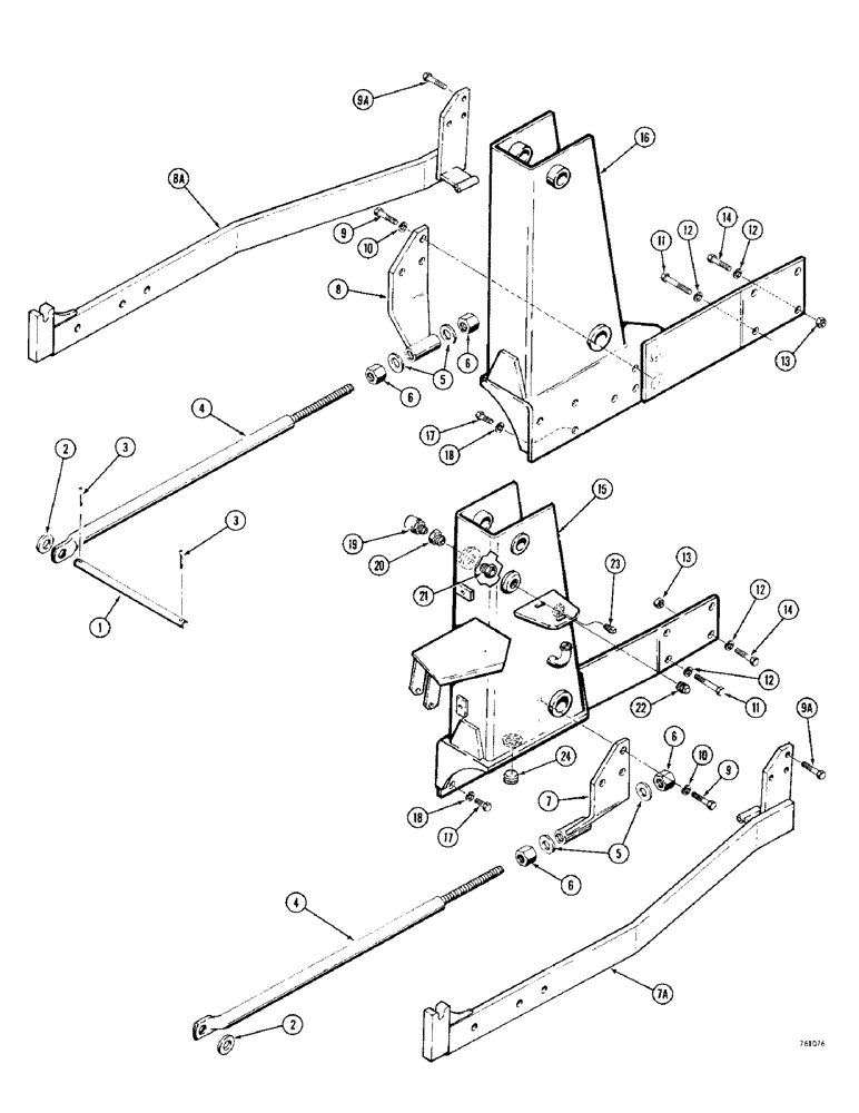
1

D67051

PIN - strut mounting

1шт.

2

195-109

WASHER,3/4"

- flat, , plated 3/4"

2шт.

3

132-120

X

PIN - cotter, 7/32" x 1-1/4"

2шт.

4

D67543

ROD - strut

2шт.

5

C13716

WASHER - hardened, plated

4шт.

6

129-110

NUT,1"-8, G5

4шт.

7

D67548

BRACKET - strut mounting, R.H., used on models without backhoe

1шт.

7a

REF

INSTRUCTION

ARM - backhoe support, R.H., if used, see catalog no. 1275 for D130 backhoe attaching parts

1шт.

8

D67547

BRACKET - strut mounting, L.H., used on models without a backhoe

1шт.

8a

REF

INSTRUCTION

ARM - backhoe support, L.H., if used, see catalog no. 1275 for D130 backhoe attaching parts

1шт.

9

113-604

BOLT,Hex, 5/8" - 11 x 2", Gr 5

If used Hex, 5/8"-11 x 2", G5

6шт.

9a

113-620

BOLT,Hex, 5/8" - 11 x 2-1/4", Gr 5

HHCS - 5/8"-11 NC x 2-1/4", plated, if used

6шт.

10

192-25

LOCK WASHER,5/8"

WASHER, LOCK, 5/8"

6шт.

11

113-621

BOLT,Hex, 5/8" - 11 x 2-3/4", Gr 5

4шт.

12

192-25

LOCK WASHER,5/8"

WASHER, LOCK, 5/8"

8шт.

13

129-107

NUT,5/8"-11, G5

4шт.

14

113-600

BOLT,Hex, 5/8" - 11 x 1-3/4", Gr 5

4шт.

15

D68010

FRAME - side, R.H.

1шт.

For tractor main frame, which also forms the carrier housings for drive train components, see Figure 74. For loader control levers and valve mounting, see Figure 170.

1шт.

16

D68011

FRAME - side, L.H.

1шт.

For tractor main frame, which also forms the carrier housings for drive train components, see Figure 74. For loader control levers and valve mounting, see Figure 170.

1шт.

17

113-607

BOLT,Hex, 5/8" - 11 x 1-1/2", Gr 5, Full Thd

6шт.

18

192-25

LOCK WASHER,5/8"

WASHER, LOCK, 5/8"

6шт.

19

R15538

VALVE

- loader reservoir breather

1шт.

20

D63506

ADAPTER

- breather

1шт.

21

D63543

BREATHER

FILTER - breather

1шт.

22

221-16

PLUG,Sq Hd, 1"-11 1/2 NPTF

- fill, 1" NPT

1шт.

23

221-13

PLUG,Sq Hd, 3/8"-18

- level check, 3/8" NPT

1шт.

24

221-35

DRAIN PLUG,Sq Soc, 3/4"-14 NPTF

PLUG - drain, 3/4" NPT

1шт.

Выбрано товаров: 29