Запчасти Case 380CK (168) - LOADER SIDE FRAMES, MODELS WITH RIGHT HAND AND LEFT HAND OIL RESERVOIRS (09) - CHASSIS/ATTACHMENTS

Схема запчастей Case 380CK - (168) - LOADER SIDE FRAMES, MODELS WITH RIGHT HAND AND LEFT HAND OIL RESERVOIRS (09) - CHASSIS/ATTACHMENTS
FIT
1:1
100%

Артикул

Название

Примечание

Количество

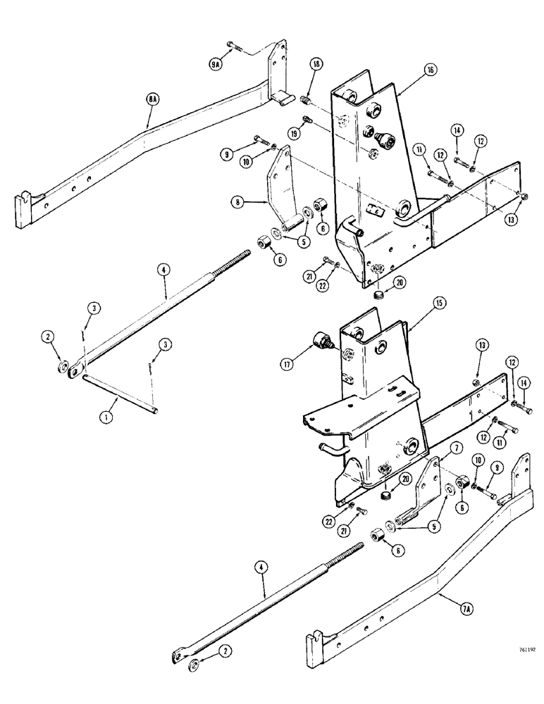
1

D67051

PIN - strut mounting

1шт.

2

195-109

WASHER,3/4"

- flat, , plated 3/4"

2шт.

3

132-120

X

PIN - cotter, 7/32" x 1-1/4"

2шт.

4

D67543

ROD - strut

2шт.

5

C13716

WASHER - hardened, plated

4шт.

6

129-110

NUT,1"-8, G5

4шт.

7

D67548

BRACKET - strut mounting, R.H., used on models without backhoe

1шт.

7a

REF

INSTRUCTION

ARM - backhoe support, R.H., if used, see catalog no. 1275 for D130 backhoe attaching parts

1шт.

8

D67547

BRACKET - strut mounting, L.H., used on models without a backhoe

1шт.

8a

REF

INSTRUCTION

ARM - backhoe support, L.H., if used, see catalog no. 1275 for D130 backhoe parts

1шт.

9

113-604

BOLT,Hex, 5/8" - 11 x 2", Gr 5

If used Hex, 5/8"-11 x 2", G5

6шт.

9a

113-620

BOLT,Hex, 5/8" - 11 x 2-1/4", Gr 5

HHCS - 5/8"-11 NC x 2-1/4", plated, if used

6шт.

10

192-25

LOCK WASHER,5/8"

WASHER, LOCK, 5/8"

6шт.

11

113-621

BOLT,Hex, 5/8" - 11 x 2-3/4", Gr 5

4шт.

12

192-25

LOCK WASHER,5/8"

WASHER, LOCK, 5/8"

8шт.

13

129-107

NUT,5/8"-11, G5

4шт.

14

113-600

BOLT,Hex, 5/8" - 11 x 1-3/4", Gr 5

4шт.

15

D75788

FRAME - side, R.H.

1шт.

For tractor main frame, which also forms the carrier housings for drive train components, see Figure 74. For loader control levers and valve mounting, see Figure 172.

1шт.

16

D75789

FRAME - side, L.H.

1шт.

For tractor main frame, which also forms the carrier housings for drive train components, see Figure 74. For loader control levers and valve mounting, see Figure 172.

1шт.

17

31543

BREATHER

VALVE - loader reservoir breather

2шт.

18

221-16

PLUG,Sq Hd, 1"-11 1/2 NPTF

- fill, 1" NPT

1шт.

19

221-13

PLUG,Sq Hd, 3/8"-18

- level check, 3/8" NPT

1шт.

20

221-35

DRAIN PLUG,Sq Soc, 3/4"-14 NPTF

PLUG - drain, 3/4" NPT

2шт.

21

113-607

BOLT,Hex, 5/8" - 11 x 1-1/2", Gr 5, Full Thd

6шт.

22

192-25

LOCK WASHER,5/8"

WASHER, LOCK, 5/8"

6шт.

Выбрано товаров: 27