Качественные детали и логистика
Оригинальные и аналоговые запчасти с доставкой по России, Казахстану и Беларуси
©2022 PartSell ООО "Система" ИНН 2463123282 ОГРН 1212400004838
Центральный офис: г. Красноярск, Академика Киренского, д.87, пом.4
Телефон: 8 (800) 777-65-74 Email: zakaz@partsell.ru
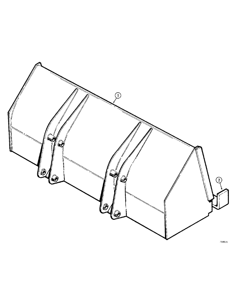
(176) - LOADER BUCKET
№
Артикул
Название
Примечание
Количество
D64650
BUCKET ASSEMBLY - loader, Inlcudes: Ref. 1 and 2
1шт.
1
NSS
NOT SOLD SEPARAT
BUCKET - loader
2
D95072
EDGE, CUTTING,4” W x 72.47” L x 6” H x 3/4” Thk
EDGE - bucket cutting
Выбрано товаров: 0