Запчасти Case 480C (392) - LOADER LIFT FRAME AND RELATED PARTS (84) - BOOMS, DIPPERS & BUCKETS

Схема запчастей Case 480C - (392) - LOADER LIFT FRAME AND RELATED PARTS (84) - BOOMS, DIPPERS & BUCKETS
FIT
1:1
100%

Артикул

Название

Примечание

Количество

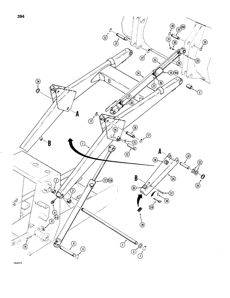
1

D80087

ARM ASSY.

LOADER FRAME - lift, Includes: Ref. 2 and 3

1шт.

2

D37392

BUSHING,44.68mm ID x 53.98mm OD x 31.75mm L

- loader lift frame pivot

4шт.

3

D30931

BUSHING,38.33mm ID x 47.63mm OD x 69.85mm L

- bucket pivot

2шт.

4

219-1

LUBE NIPPLE,1/8" - 27 NPTF

GREASE FITTING - straight, 1/8" NPT, if used

2шт.

4a

219-55

LUBE NIPPLE,90 Degree Elbow, 1/8" - 27 NPTF

NIPPLE, LUBE, , If used 90º, 1/8" NPT x .84" lg

2шт.

5

D62192

SHAFT

PIN - pivot

1шт.

6

D62194

WASHER

- flat, special

1шт.

7

D25280

SNAP RING,#175, Ext

Ring, Snap, , pin #175, Ext

2шт.

8

D62193

PIN

- lift cylinder pivot

2шт.

9

D25280

SNAP RING,#175, Ext

Ring, Snap, , pin #175, Ext

2шт.

10

113-247

BOLT,Hex, 3/8" - 16 x 3-1/4", Gr 5

2шт.

11

131-666

LOCK NUT,3/8"-16, GB

NUT - hex, self-locking, 3/8" - 16 NC, plated

2шт.

12

REF

INSTRUCTION

CYLINDER - loader lift, right-hand, parts list Figures 342 or 344

1шт.

12a

REF

INSTRUCTION

CYLINDER - loader lift, left-hand, parts list Figures 342 or 344

1шт.

13

D67357

PIN

- lift cylinder to loader frame

1-2шт.

14

113-248

BOLT,Hex, 3/8" - 16 x 2-3/4", Gr 5

2шт.

15

131-666

LOCK NUT,3/8"-16, GB

NUT - hex, self-locking, 3/8" - 16 NC, plated

2шт.

16

D32933

PIVOT PIN,31.75mm OD x 127mm L

PIN - tilt cylinder pivot

2шт.

17

D26918

SNAP RING,#125, Ext

Ring, Snap, , pin #125, Ext

4шт.

18

REF

INSTRUCTION

CYLINDER - bucket, right-hand, parts list Figures 346 or 348

1шт.

18a

REF

INSTRUCTION

CYLINDER - bucket, left-hand, parts list Figures 346 or 348

1шт.

19

D34316

PIN

-, Serial Range: cylinder-bucket

1шт.

19a

D32933

PIVOT PIN,31.75mm OD x 127mm L

PIN - cylinder to dozer blade or pallet forks

2шт.

20

D26918

SNAP RING,#125, Ext

Ring, Snap, , pin #125, Ext

4шт.

21

D37286

PIN

-, Serial Range: frame-bucket

2шт.

22

D25279

SNAP RING,M35, Int

- pin retaining

4шт.

23

RESERVED

1шт.

24

D74588

TUBE

- bucket level indicator, hollow tube is 34" (864 mm) long, use only with D74583 rod, no longer available, order D80277 tube

1шт.

24

D80277

TUBE

- bucket level indicator, hollow tube is 32-9/16" (828 mm) long, use only with D80275 rod

1шт.

25

D74583

ROD

- bucket level indicator, 47" (1194 mm) long, use only with D74588 tube, no longer available, order D80275 rod and D80277 tube

1шт.

25

D80275

ROD

- bucket level indicator, 42-9/16" (1082 mm) long, use only with D80275 tube

1шт.

26

214-265

HOSE CLAMP,#56, 3.06" - 4", Type F Worm

CLAMP - indicator tube to cylinder tube

2шт.

27

D38648

BLOCK

SPACER - rubber, tube

2шт.

28

D74356

CLAMP

- indicator rod to cylinder rod

1шт.

29

113-207

BOLT,Hex, 3/8" - 16 x 1", Gr 5

1шт.

30

92-6

LOCK WASHER,3/8"

1шт.

31

129-103

NUT,Hex, 3/8" - 16, Gr 5

NUT, 3/8"-16, G5

1шт.

32

D80739

PIN

- lift cylinder to loader frame, left-hand

1шт.

33

D28610

WASHER,38.5mm ID x 63.5mm OD x 2.66mm Thk

- spacer

1шт.

34

D25279

SNAP RING,M35, Int

- pin retaining

2шт.

35

D77765

STRUT

- safety, loader frame, if used

1шт.

35a

D121846

STRUT

- safety, loader frame, with a 3/4" hole at each end for D121047 grommet, if used, not shown

1шт.

36

D79692

PAD

- safety strut, if used

2шт.

36a

D121047

GROMMET

- used with D121846 strut, if used, not shown

2шт.

37

REF

INSTRUCTION

PIN - lock, 3/8" (10 mm) diameter, no longer used, order L78801 pin

1шт.

37a

L78801

AXLE PIN

PIN - lock, 1/2" (13 mm) diameter

1шт.

38

136-160

COTTER PIN,Int, 13/64" x .156"

- pin retaining, if used

1шт.

39

D89691

STRIP

PAD - rubber, cylinder rod protection, if used

1шт.

40

345-44

ADHESIVE

- spray, for attaching rubber pads to metal surfaces, if used, not shown

1шт.

Выбрано товаров: 49