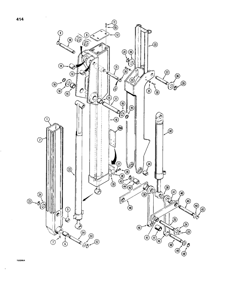
Запчасти Case 480C (414) - BACKHOE EXTENDABLE DIPPER (84) - BOOMS, DIPPERS & BUCKETS

Схема запчастей Case 480C - (414) - BACKHOE EXTENDABLE DIPPER (84) - BOOMS, DIPPERS & BUCKETS
FIT
1:1
100%

Артикул

Название

Примечание

Количество

D55721

EXTENSION

DIPPER ASSEMBLY - extension, Includes: Ref. 1 - 6

1шт.

1

NSS

NOT SOLD SEPARAT

DIPPER - extendable, inner

1шт.

D16614

STRIP

KIT - service, wear strip, Includes: Ref. 2 - 4

2шт.

2

D55687

STRIP

WEAR STRIP - dipper slide

4шт.

3

219-55

LUBE NIPPLE,90 Degree Elbow, 1/8" - 27 NPTF

NIPPLE, LUBE, , Not shown 90º, 1/8" NPT x .84" lg

1шт.

4

219-107

NOZZLE CAP

NOZZLE - grease gun, not shown

1шт.

Grease gun adapter for greasing through the bottom holes (as shown in the operators manual) is 219-107

1шт.

5

D37443

BUSHING,44.68mm ID x 57.15mm OD x 50.8mm L

- dipper arm, at bucket link

2шт.

6

D95213

BUSHING

- dipper arm

2шт.

7

219-1

LUBE NIPPLE,1/8" - 27 NPTF

GREASE FITTING - straight, 1/8" NPT

2шт.

8

D25279

SNAP RING,M35, Int

- pin retaining

2шт.

9

D28610

WASHER,38.5mm ID x 63.5mm OD x 2.66mm Thk

- spacer

6шт.

10

D53812

PIVOT PIN,1.5" OD x 10.14" L

PIN - dipper cylinder to extendable dipper

1шт.

11

113-207

BOLT,Hex, 3/8" - 16 x 1", Gr 5

4шт.

12

D52537

COVER ASSY

COVER - end, dipper

1шт.

D55714

HOUSING

- extendable dipper, Includes: Ref. 13 - 16

1шт.

13

D30741

BUSHING,38.33mm ID x 47.63mm OD x 50.8mm L

- right-hand dipper cylinder mounting, 2" (51 mm) long

1шт.

14

D31141

BUSHING,38.33mm ID x 47.63mm OD x 41.15mm L

- left-hand dipper cylinder mounting, 1-5/8" (41 mm) long

1шт.

15

D30756

BUSHING,51.02mm ID x 63.5mm OD x 31.8mm L

-, Serial Range: boom-dipper

2шт.

16

NSS

NOT SOLD SEPARAT

SLIDE - extendable dipper, outer

1шт.

17

D45034

PIN

-, Serial Range: boom-dipper

1шт.

18

195-2155

WASHER,2 1/16" x 3" x .109"

- flat, boom to dipper

2шт.

19

D26919

SNAP RING,#200, Ext

Ring, Snap, , pin #200, Ext

2шт.

20

D25279

SNAP RING,M35, Int

- pin retaining

2шт.

21

D44882

PIN,38.1mm OD x 203.2mm L

- extension, Serial Range: cylinder-slide

1шт.

22

REF

INSTRUCTION

CYLINDER - dipper extension, see Figures 374 and 376

1шт.

23

D25280

SNAP RING,#175, Ext

Ring, Snap, , pin #175, Ext

2шт.

24

195-2152

WASHER,1 13/16" x 2 1/2" x .109"

- flat, special

2шт.

25

D53818

PIN,44.45mm OD x 278.89mm L

- extension cylinder to dipper and bucket links

1шт.

26

26-820

BOLT,Hex, 1/2" - 13 x 1-1/4", Gr 8

4шт.

27

92-8

LOCK WASHER,1/2"

4шт.

28

NSS

NOT SOLD SEPARAT

STOP - dipper extension, no longer used, order D75425

1шт.

29

NSS

NOT SOLD SEPARAT

SPACER - dipper extension, no longer used, order D75425

1шт.

29a

D75425

STOP

- dipper extension, does not require spacer

1шт.

30

113-417

BOLT,Hex, 1/2" - 13 x 1-1/4", Gr 5, Full Thd

4шт.

31

92-8

LOCK WASHER,1/2"

4шт.

32

D54095

BLOCK

- guide

2шт.

D53637

EXTENSION ASSEMBLY - dipper, Includes: Ref. 33 and 34

1шт.

33

NSS

NOT SOLD SEPARAT

EXTENSION - dipper

1шт.

34

D52521

BUSHING,44.68mm ID x 57.15mm OD x 26.92mm L

- bucket link pin

2шт.

35

D25279

SNAP RING,M35, Int

- pin retaining

2шт.

36

D28610

WASHER,38.5mm ID x 63.5mm OD x 2.66mm Thk

- spacer

2шт.

37

D53576

PIN

- bucket, Serial Range: cylinder-dipper

1шт.

38

REF

INSTRUCTION

CYLINDER - bucket, see Figures 370 and 372

1шт.

38

REF

INSTRUCTION

CYLINDER - bucket, see Figures 370 and 372

1шт.

39

D39261

WASHER

- special, bucket, Serial Range: cylinder-links

2шт.

40

D43816

KIT

LINK - guide, dipper and extension to dump links, Includes: Ref. 41 and 42

2шт.

41

D46405

BUSHING,44.68mm ID x 53.98mm OD x 19.05mm L

- link, dipper end

1шт.

42

D44549

BUSHING

- link, bucket cylinder end

1шт.

43

D25279

SNAP RING,M35, Int

RING - retaining, pin

2шт.

44

D28610

WASHER,38.5mm ID x 63.5mm OD x 2.66mm Thk

- special

2шт.

45

D53819

PIN

- bucket cylinder to bucket linkage

1шт.

46

D54929

LINK - bucket, Includes: Ref. 47

2шт.

47

D54929

BUSHING - link

2шт.

48

D25279

SNAP RING,M35, Int

RING - retaining, pin

2шт.

49

D28610

WASHER,38.5mm ID x 63.5mm OD x 2.66mm Thk

- special

2шт.

50

D37614

PIN,38mm Od x 246mm L

-, Serial Range: link-bucket

1шт.

51

D37450

SPACER,40.89mm ID x 48.26mm OD x 63.5mm L

SPACER - link

1шт.

52

D25280

SNAP RING,#175, Ext

Ring, Snap, , pin #175, Ext

2шт.

53

195-2156

WASHER,1 13/16" x 2 3/4" x .109"

- flat, special

2шт.

54

D123081

PIN,44.45mm OD x 370.84mm L

- dipper arm to bucket, used with all buckets except 12" (305 mm) buckets

1шт.

54

D40244

PIN,44.45mm OD x 327.02mm L

- dipper arm to bucket, used with 12" (305 mm) buckets only

1шт.

55

95-6

WASHER,3/8"

- flat, 3/8"

4шт.

Выбрано товаров: 63