Запчасти Case 480C (420) - BACKHOE BUCKETS, BELLHOLE BUCKETS (84) - BOOMS, DIPPERS & BUCKETS

Схема запчастей Case 480C - (420) - BACKHOE BUCKETS, BELLHOLE BUCKETS (84) - BOOMS, DIPPERS & BUCKETS
FIT
1:1
100%

Артикул

Название

Примечание

Количество

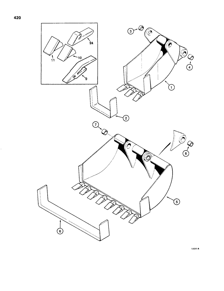
1

D41547

BUCKET

ASSEMBLY - 12 inch (305 mm), machinery item - see Figure 2 for ordering, Includes: Ref. 2 - 4

1шт.

2

D37490

KNIFE

CUTTING EDGE - bucket

1шт.

3

D40243

BUSHING,44.68mm ID x 57.15mm OD x 19.05mm L

- bucket, at dipper

2шт.

4

D30933

BUSHING,38.41mm ID x 47.63mm OD x 31.75mm L

- bucket, bucket link pin hole

2шт.

1

D41548

BUCKET

ASSEMBLY - 16 inch (406 mm), machinery item - see Figure 2 for ordering, Includes: Ref. 2 - 4

1шт.

2

D37518

EDGE, CUTTING

CUTTING EDGE - bucket

1шт.

3

D37495

BUSHING,44.76mm ID x 57.15mm OD x 31.75mm L

- bucket, at dipper

2шт.

4

D30933

BUSHING,38.41mm ID x 47.63mm OD x 31.75mm L

- bucket, bucket link pin hole

2шт.

1

D41549

BUCKET

ASSEMBLY - 30 inch (762 mm), machinery item - see Figure 2 for ordering, Includes: Ref. 2 - 4

1шт.

2

D37515

EDGE

CUTTING EDGE - bucket

1шт.

3

D37495

BUSHING,44.76mm ID x 57.15mm OD x 31.75mm L

- bucket at dipper

2шт.

4

D30933

BUSHING,38.41mm ID x 47.63mm OD x 31.75mm L

- bucket, bucket link pin hole

2шт.

5

D41550

BUCKET

ASSEMBLY - 36 inch (914 mm), machinery item - see Figure 2 for ordering, combination bellhole and graveyard, Includes: Ref. 6 - 8

1шт.

6

D37516

JUNCTION

CUTTING EDGE - bucket, combination bellhole and graveyard

1шт.

7

D37495

BUSHING,44.76mm ID x 57.15mm OD x 31.75mm L

- bucket, at dipper, combination bellhole and graveyard

2шт.

8

D30933

BUSHING,38.41mm ID x 47.63mm OD x 31.75mm L

- bucket, bucket link pin hole, combination bellhole and graveyard

2шт.

9

D58499

SUPPORT

SHANK - tooth, service option, bucket

1шт.

9a

D26368

SUPPORT

SHANK - tooth, original equipment, bucket

1шт.

10

D58576

TOOTH

POINT - tooth, H and L manufactured, 4-7/8" (124 mm) long, bucket

1шт.

10

D58577

TOOTH

POINT - tooth, Fabco manufactured, 4-3/4" (121 mm) long, bucket

1шт.

11

D58592

TOOTH

POINT - tooth, H and L manufactured, heavy duty service option, bucket

1шт.

11

D58593

TOOTH

POINT - tooth, Fabco manufactured, heavy duty service option, bucket

1шт.

Выбрано товаров: 22