Запчасти Case 480C (478) - SLOW MOVING VEHICLE EMBLEM, USED ON MODELS WITH BACKHOE (90) - PLATFORM, CAB, BODYWORK AND DECALS

Схема запчастей Case 480C - (478) - SLOW MOVING VEHICLE EMBLEM, USED ON MODELS WITH BACKHOE (90) - PLATFORM, CAB, BODYWORK AND DECALS
FIT
1:1
100%

Артикул

Название

Примечание

Количество

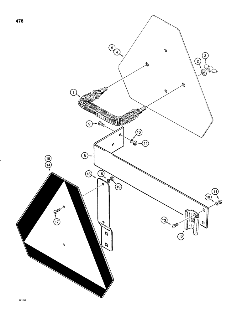
1

D52564

SPRING

- emblem retaining

1шт.

2

195-518

WASHER,1/4", SAE

- flat, 1/4", plated

2шт.

3

129-409

WING NUT,1/4"-20

NUT, WING, 1/4"-20

2шт.

4

D52581

TRAFFIC SIGN

EMBLEM - plate and decal, Includes: Ref. 5

1шт.

5

321-4311

DECAL

- emblem

1шт.

6

113-3

BOLT,Hex, 1/4" - 20 x 3/4", Gr 5

Used when storing emblem only, not shown Hex, 1/4"-20 x 3/4", G5, Full Thd

2шт.

7

7770

NUT,Hex, 1/4 - 20, Cl 5

1/4"-20, G5, Used when storing emblem only, not shown

2шт.

8

D69980

BRACKET

- SMV emblem mounting, used on models w/o backhoe

1шт.

9

113-102

BOLT,Hex, 5/16" - 18 x 3/4", Gr 5

Hex, 5/16"-18 x 3/4", G5, Full Thd, Used on models w/o backhoe

2шт.

10

192-20

LOCK WASHER,Helical Spring, 0.318" ID, CST, ZND

WASHER, LOCK, , Used on models w/o backhoe 5/16"

4шт.

11

9635082

NUT,5/16" - 18, Gr 5

Used on models w/o backhoe 5/16"-18, G5

4шт.

12

A59457

BRACKET

SOCKET - emblem mounting, used on models w/o backhoe

1шт.

13

111-132

CARRIAGE BOLT,Short NK, 5/16"-18 x 3/4", G5, Full Thd

- 5/16" - 18 NC x 3/4", plated, used on models w/o backhoe

2шт.

A59450

WARNING SIGN

EMBLEM ASSEMBLY - SMV, riveted construction, replaces bolted construction, used on models w/o backhoe, Includes: Ref. 14 - 16

1шт.

14

NSS

NOT SOLD SEPARAT

PLATE - SMV emblem, used on models w/o backhoe

1шт.

15

321-4311

DECAL

- emblem, used on models w/o backhoe

1шт.

16

NSS

NOT SOLD SEPARAT

BRACKET - emblem, used on models w/o backhoe

1шт.

17

182-516

SCREW,Sl Pan Hd, #10 - 24 x 1/2"

MACHINE SCREW - pan head, No. 10 - 24 NC x 1/2", plated, used on models w/o backhoe

2шт.

18

192-18

LOCK WASHER,Helical Spring, #10, 0.196" ID, CST, ZND

WASHER, LOCK, , If used, used on models w/o backhoe #10

2шт.

19

129-17

NUT,Hex, #10 - 24

NUT - hex, No. 10 - 24 NC, plated, if used, used on models w/o backhoe

2шт.

Выбрано товаров: 20