Запчасти Case 480CK (10) - COUNTERWEIGHTS, USED ON MODELS WITHOUT BACKHOE OR DRAFT-O-MATIC (39) - FRAMES AND BALLASTING

Схема запчастей Case 480CK - (10) - COUNTERWEIGHTS, USED ON MODELS WITHOUT BACKHOE OR DRAFT-O-MATIC (39) - FRAMES AND BALLASTING
FIT
1:1
100%

Артикул

Название

Примечание

Количество

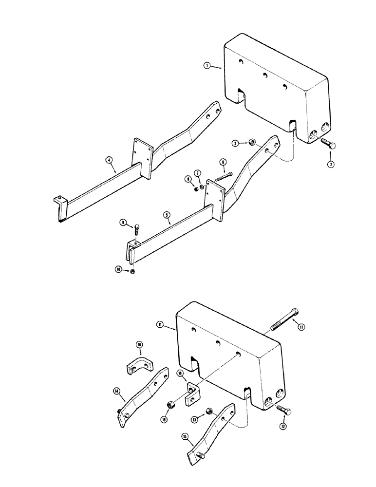
1

D31204

BALANCER

COUNTERWEIGHT - rear, 1400 lbs.

1шт.

2

13-16104

BOLT,Hex, 1" - 8 x 6-1/2", Gr 5

4шт.

3

230-41116

NUT,1"-8, GA

NUT - hex., lock (1" - 8 NC)

4шт.

4

D33814

SUPPORT ARM - counterweight, R.H.

1шт.

5

D33815

SUPPORT ARM - counterweight, L.H.

1шт.

6

113-639

BOLT

HHCS - 5/8" - 11 NC x 8"

8шт.

7

A28084

WASHER

- special

8шт.

8

129-563

NUT,5/8"-11, G8

- hex., lock (5/8" x 11 NC)

8шт.

9

13-1236

BOLT,Hex, 3/4" - 10 x 2-1/4", Gr 5

2шт.

10

25-1012

NUT,3/4"-10, G5

Used on models w/backhoe removed 3/4"-10, G5

2шт.

11

D31204

BALANCER

COUNTERWEIGHT - rear, 1400 lbs., used on models w/ backhoe removed

1шт.

12

13-16104

BOLT,Hex, 1" - 8 x 6-1/2", Gr 5

Used on models w/ backhoe removed Hex, 1"-8 x 6 1/2", G5

4шт.

13

230-41116

NUT,1"-8, GA

NUT - hex., lock (1" - 8 NC), used on models w/ backhoe removed

4шт.

14

D31528

SUPPORT

ARM - counterweight, R.H., used on models w/ backhoe removed

1шт.

15

D31529

SUPPORT

ARM - counterweight, L.H., used on models w/ backhoe removed

1шт.

16

D31530

BRACKET

- counterweight attaching, top, used on models w/ backhoe removed

2шт.

17

13-16168

BOLT,Hex, 1" - 8 x 10-1/2", Gr 5

Used on models w/ backhoe removed Hex, 1"-8 x 10 1/2", G5

2шт.

18

230-41116

NUT,1"-8, GA

NUT - hex, lock (1" - 8 NC), used on models w/ backhoe removed

2шт.

Выбрано товаров: 18