Запчасти Case 480CK (26) - BACKHOE BUCKETS, OPTIONAL TYPES, TRENCHING BUCKETS (82) - FRONT LOADER & BUCKET

Схема запчастей Case 480CK - (26) - BACKHOE BUCKETS, OPTIONAL TYPES, TRENCHING BUCKETS (82) - FRONT LOADER & BUCKET
FIT
1:1
100%

Артикул

Название

Примечание

Количество

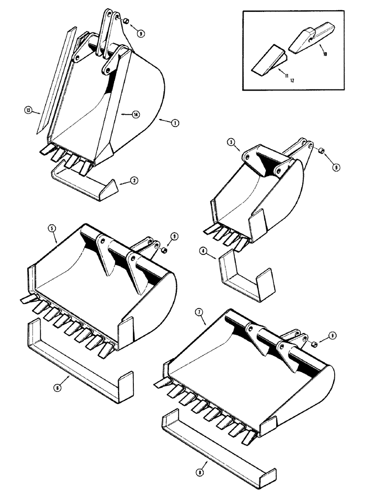
1

D29355

BUCKET - backhoe, trenching (12 inch) Machinery item, Includes: Ref. 2

1шт.

2

D23227

EDGE

BLADE - cutting, center

1шт.

1

D23081

BUCKET - backhoe, trenching (18 inch) Machinery item, Includes: Ref. 2

1шт.

2

D23226

BLADE - cutting, center

1шт.

1

D21607

BUCKET - backhoe, trenching (24 inch) Machinery item, Includes: Ref. 2

1шт.

2

35277

KNIFE

BLADE - cutting, center

1шт.

1

D24961

BUCKET - backhoe, trenching, (30 inch) Machinery item, Includes: Ref. 2

1шт.

2

35294

BLADE - cutting, center

1шт.

3

D23089

BUCKET - backhoe, bellhole (12 inch) Machinery item, Includes: Ref. 4

1шт.

4

D23107

BLADE - cutting, bellhole bucket

1шт.

3

37774

BUCKET - backhoe, bellhole (16 inch) Machinery item, Includes: Ref. 4

1шт.

4

37696

BLADE - cutting, bellhole bucket

1шт.

3

37747

BUCKET - backhoe, bellhole (30 inch) Machinery item, Includes: Ref. 4

1шт.

4

37448

BLADE - cutting, bellhole bucket

1шт.

5

D23088

BUCKET - backhoe, combination bellhole and graveyard (36 inch) Machinery item, Includes: Ref. 6

1шт.

6

D20453

BLADE - cutting, combination bellhole and graveyard bucket

1шт.

7

37934

LEVER

BUCKET - backhoe, graveyard (38 inch) Machinery item, Includes: Ref. 8

1шт.

8

37908

BLADE - cutting, graveyard bucker

1шт.

9

D29498

BUSHING

- bucket, parts

4шт.

10

D26368

SUPPORT

SHANK - tooth, parts for buckets

1шт.

11

D27748

TOOTH

POINT - tooth (Standard), parts for buckets

1шт.

12

D36720

TOOTH

POINT - tooth, service option (Heavy duty), parts for buckets

1шт.

13

D21605

EDGE, CUTTING

BLADE - cutting, L.H. side (Used on all trenching buckets except D29355), parts for buckets

1шт.

D29415

BLADE - cutting, L.H. side (D29355 bucket only), parts for buckets

1шт.

14

D21606

EDGE, CUTTING

BLADE - cutting, R.H. side (Used on all trenching buckets except D29355), parts for buckets

1шт.

D29416

BLADE - cutting, R.H. side (D29355 bucket only), parts for buckets

1шт.

Выбрано товаров: 26